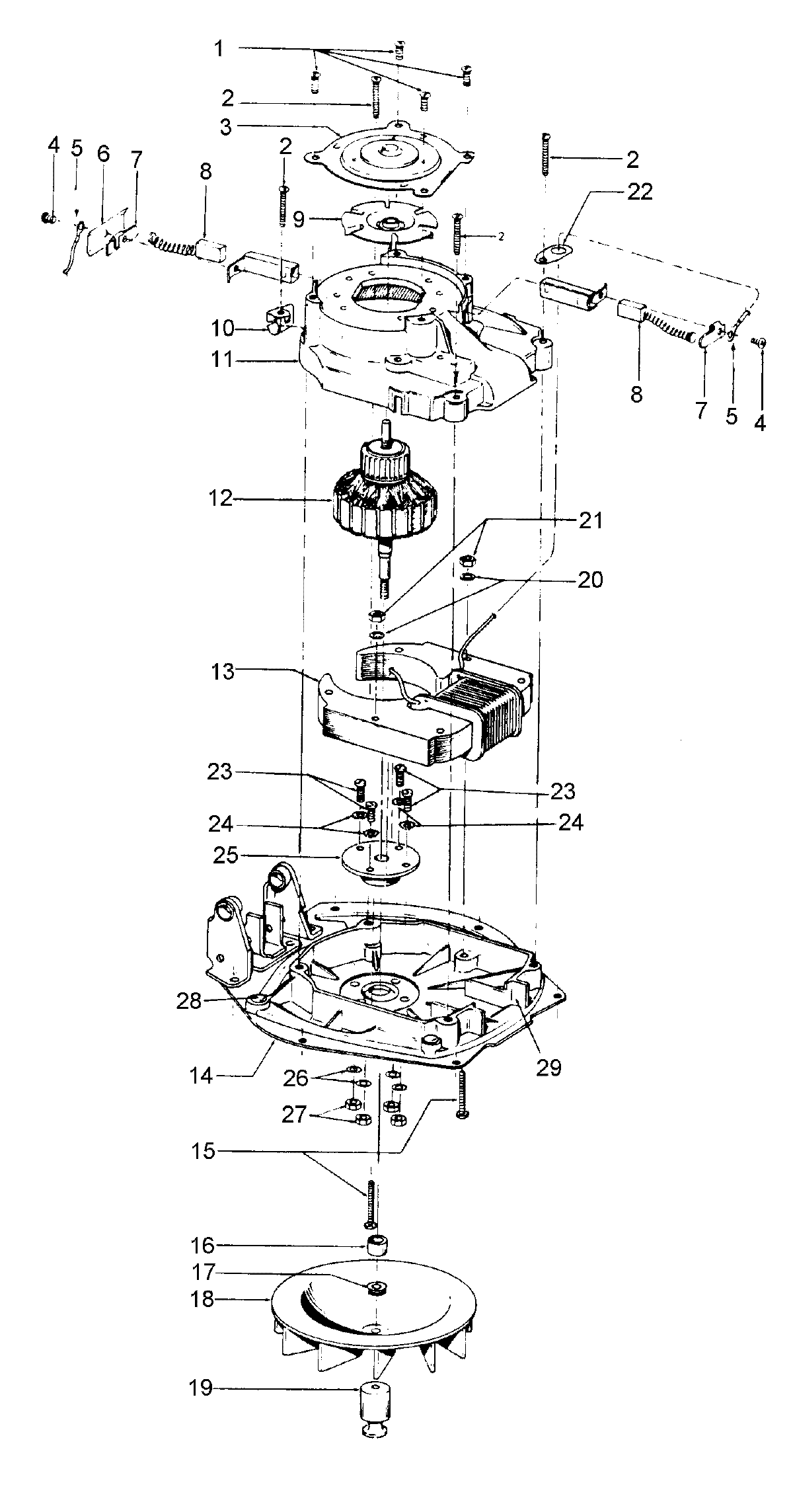
0916T-01 05 – MOTOR ASSEMBLYadmin2025-04-26T08:34:31+00:000916T-01 05 – MOTOR ASSEMBLY ProductsPositionProduct1MAY 45533AY1MAY 900504--2MAY 900505--3MAY 429340025MAY 019249--7MAY 808647--8MAY 473180129MAY 700344--11MAY 4219550112MAY 037089--13MAY 4541200814MAY 4358801015MAY 045118--16NOT REQUIRED PART OR SEE NOTE FUSE (NOT REQUIRED)17MAY 901425--18MAY 022556--18MAY 3875501119MAY 801130--21MAY 740448--22MAY 045517--23MAY 044779--24MAY 014062-25MAY 019829--26MAY 091099--27MAY 045251--28MAY 900796--29MAY 655486--30MAY 2731730730MAY 23369004