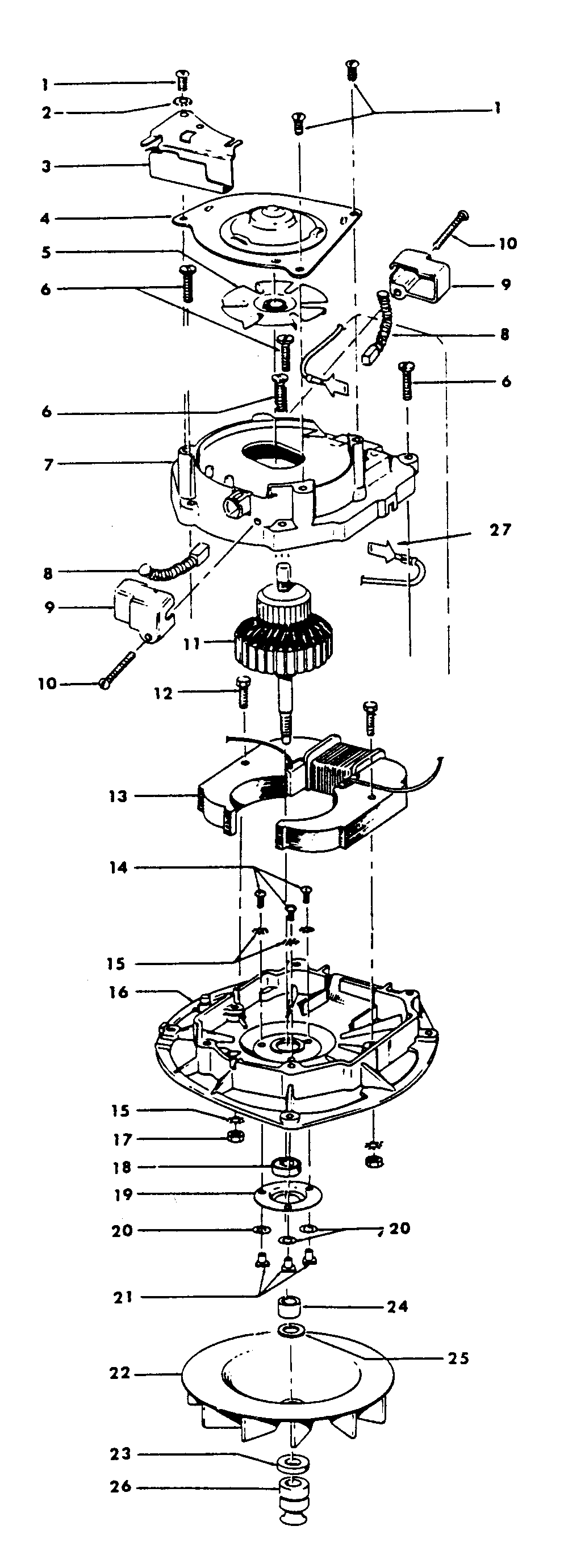
1072 05 – MOTOR ASSEMBLY