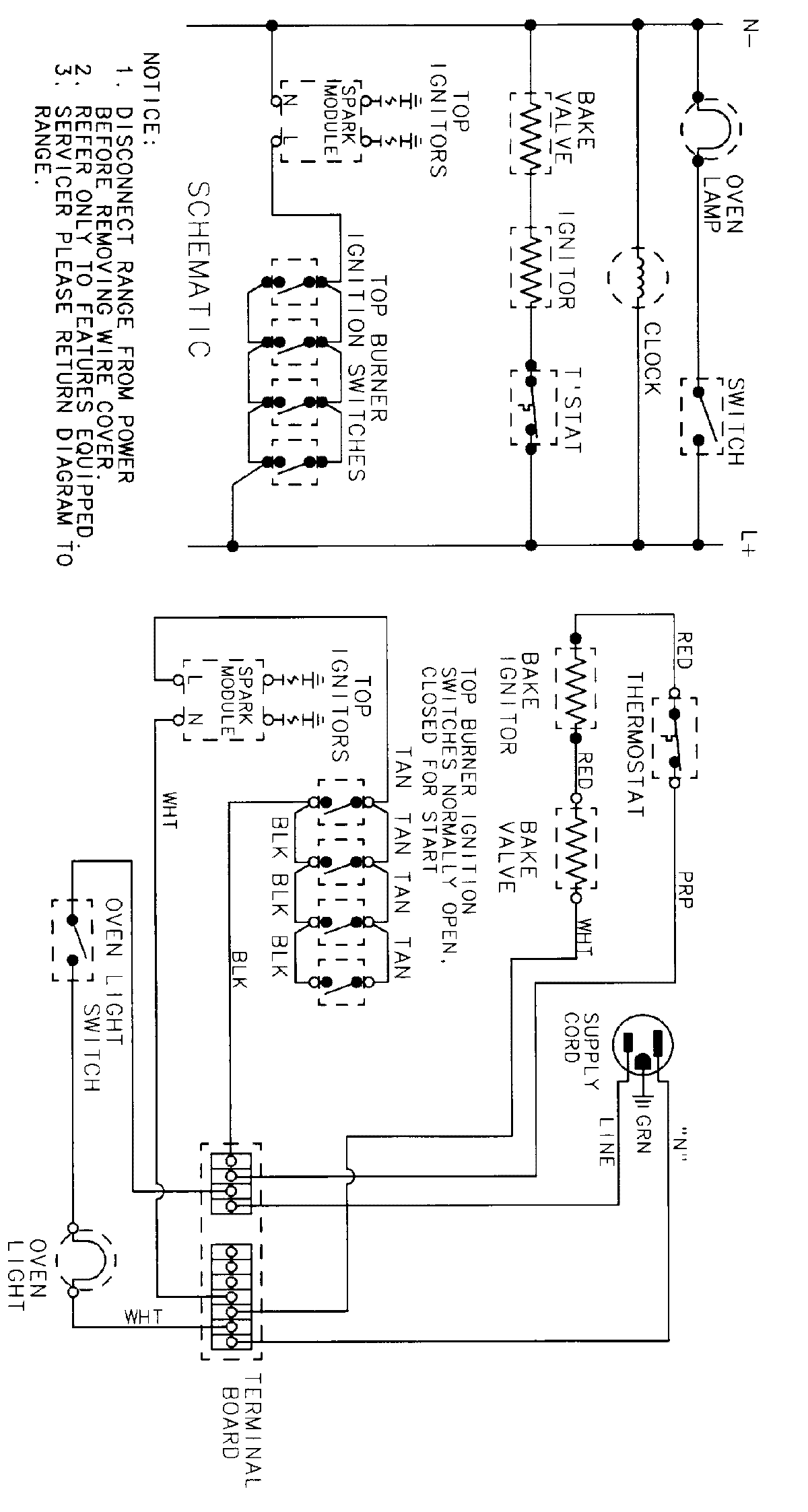
1100PAW-K 05 – WIRING INFORMATIONadmin2025-04-26T08:34:32+00:001100PAW-K 05 – WIRING INFORMATION ProductsPositionProductNIMAY 15001858