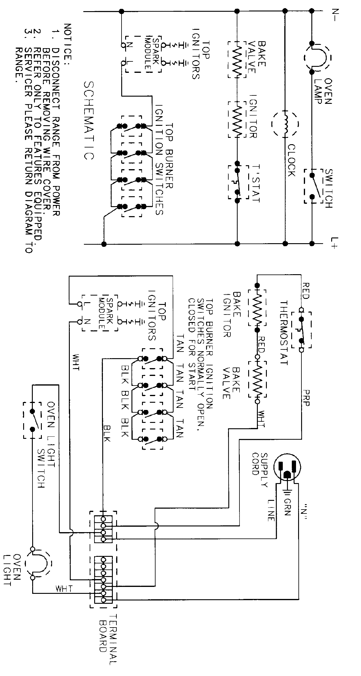
1100PAW-KL 05 – WIRING INFORMATIONadmin2025-04-26T08:34:36+00:001100PAW-KL 05 – WIRING INFORMATION ProductsPositionProductNIMAY 15001858