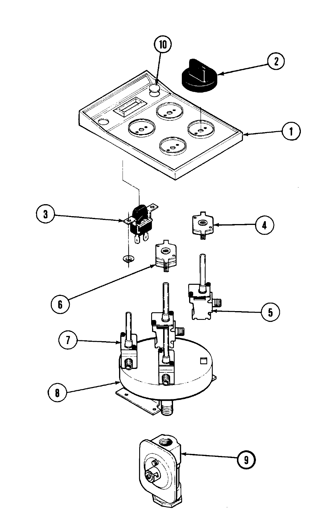
12104 03 – CONTROL PANEL