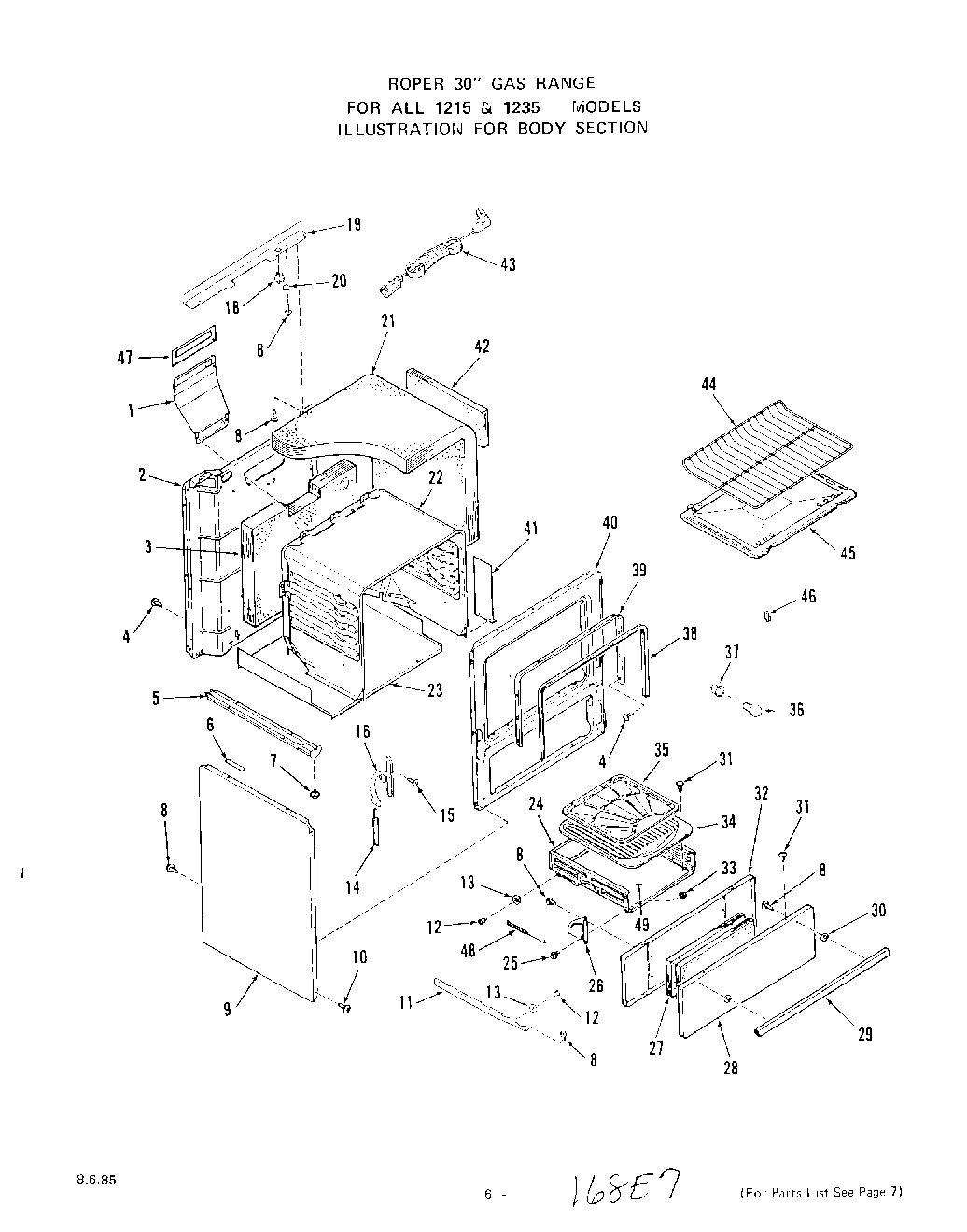
1213W1A 05 – BODY