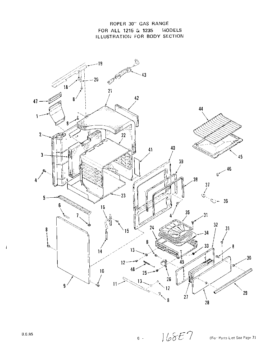
1215W1A 05 – BODY