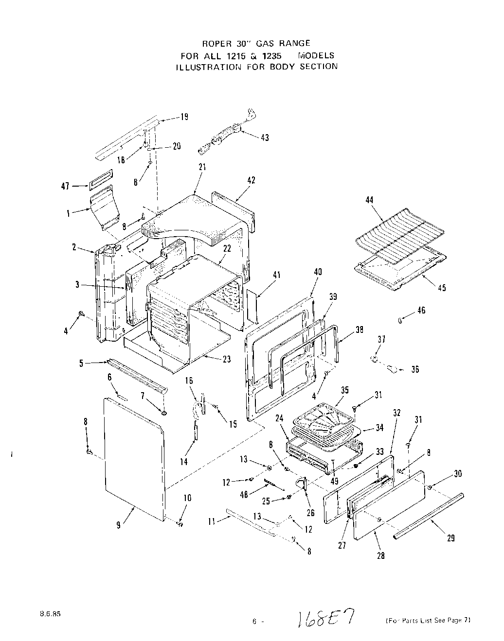
1235^1A 05 – BODY