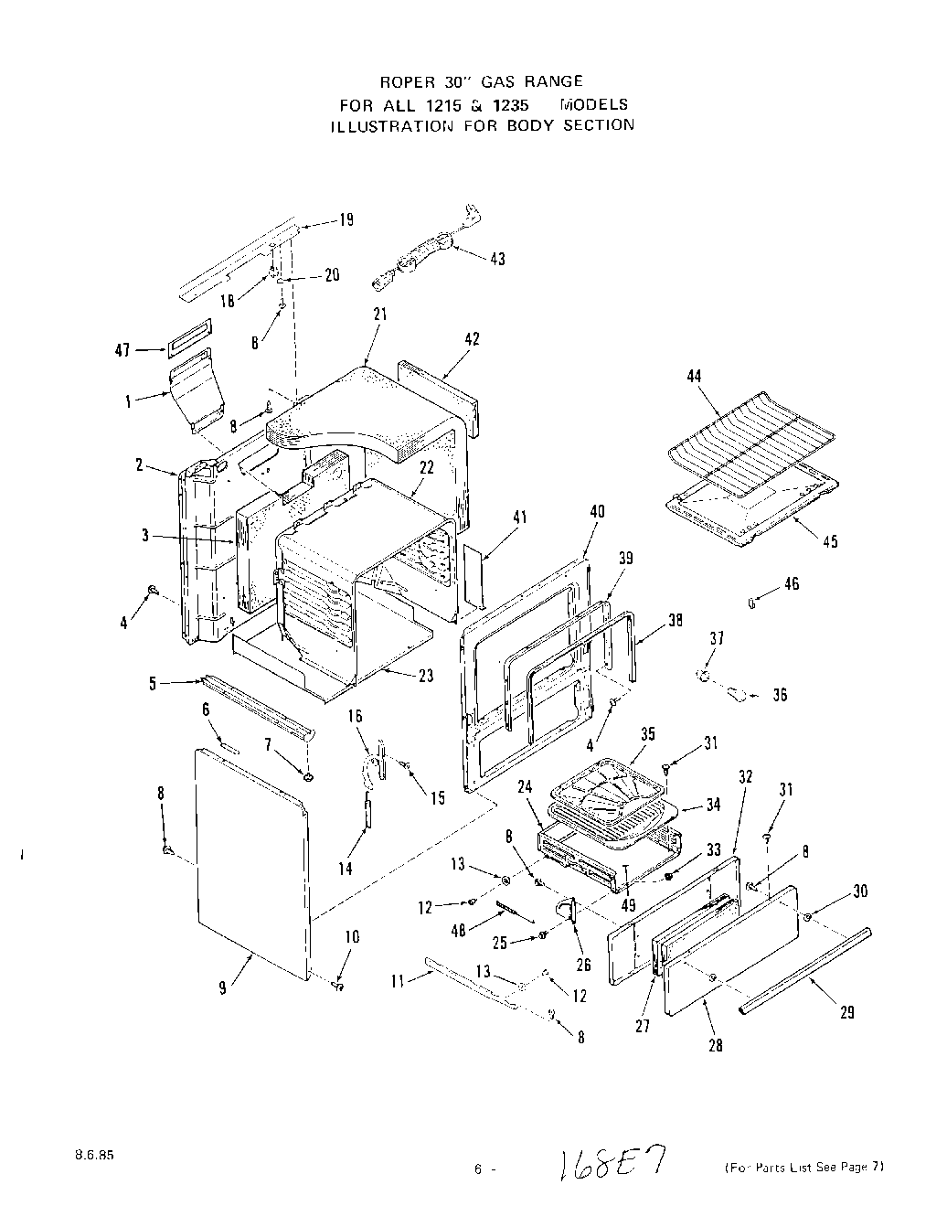
1235W1A 05 – BODY