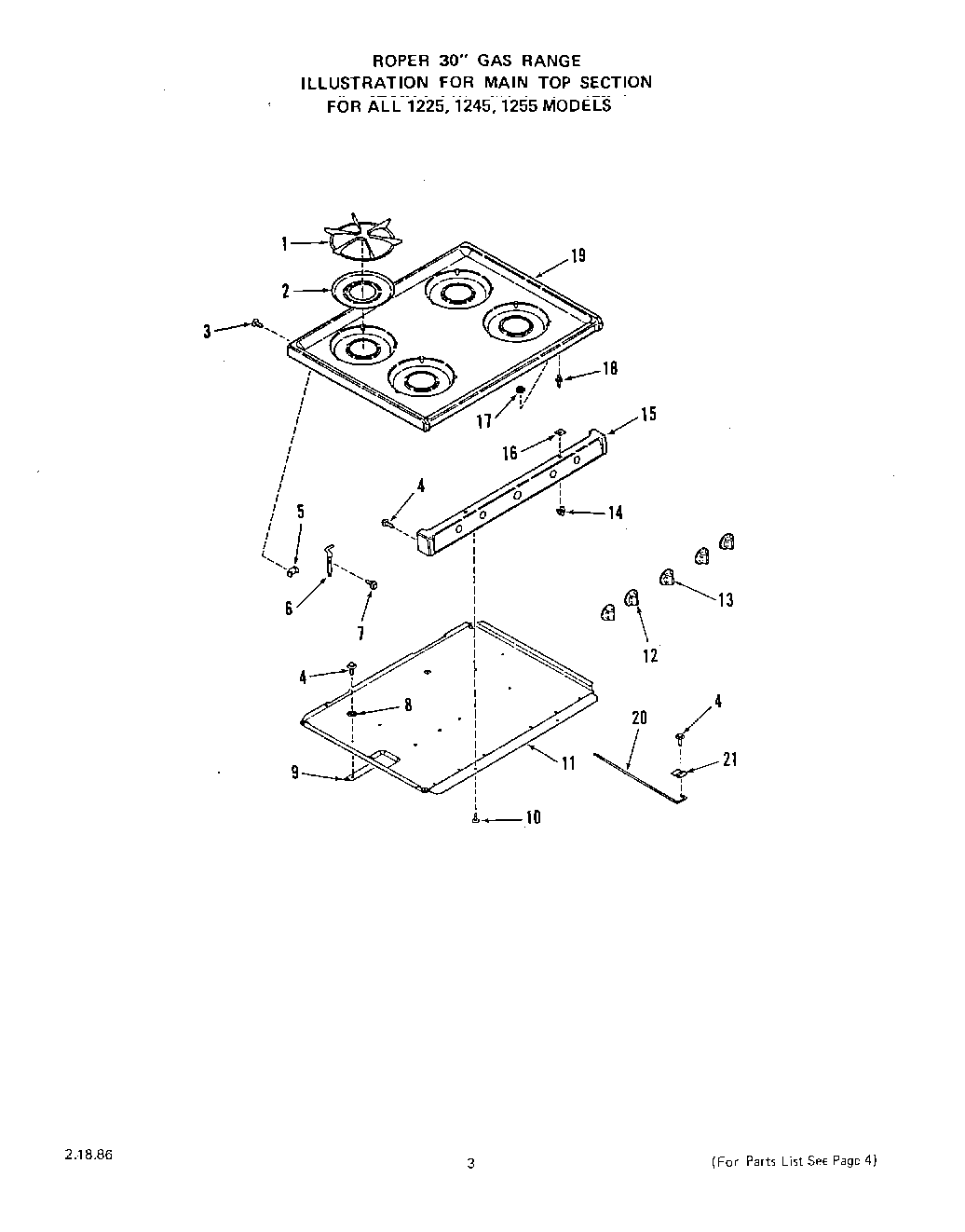
1245^0A 03 – GRIDDLE