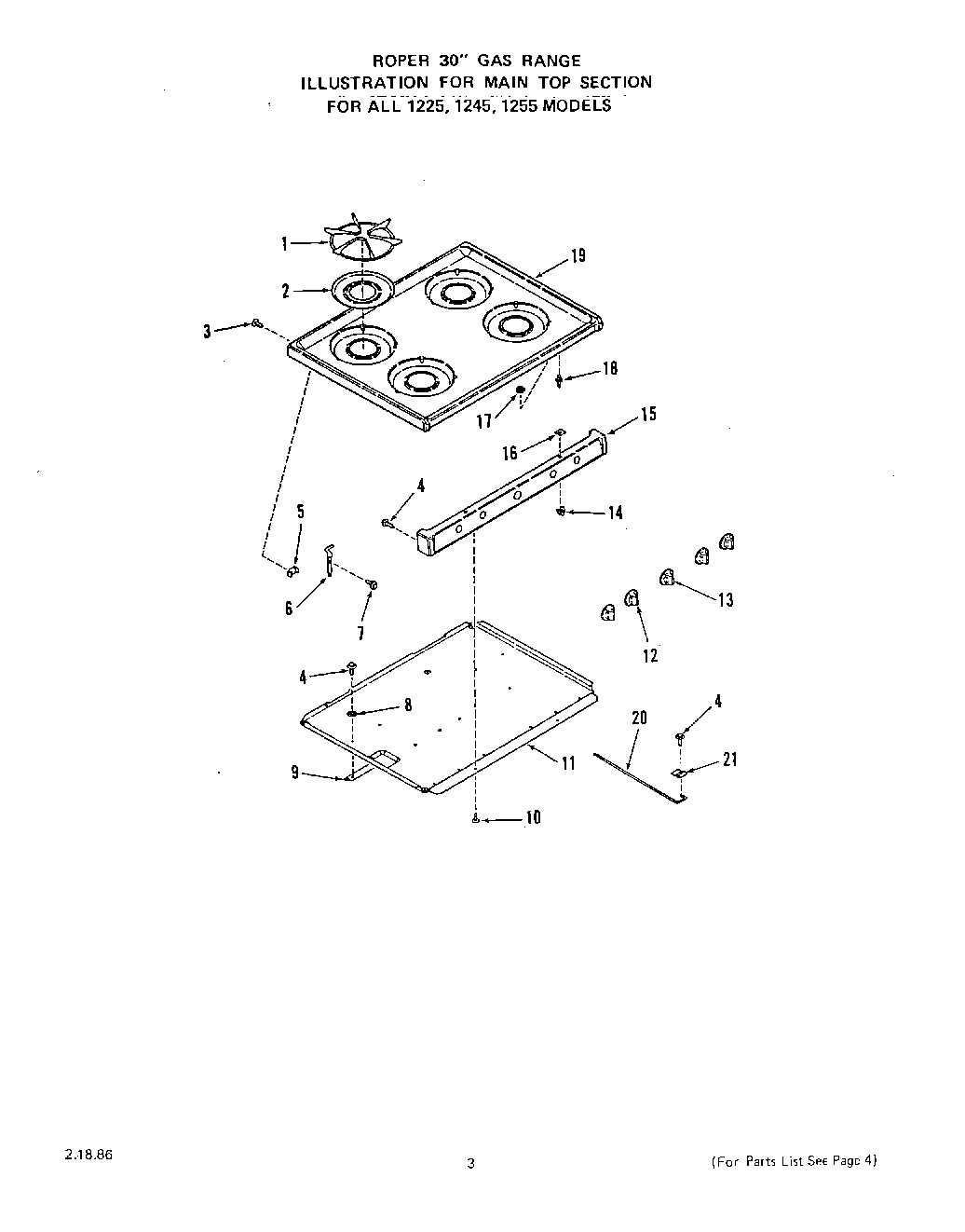
| 1 | Top Grate (4 Required) |
| 2 | Spill Bowl |
| 3 | Screw-10-32x1/2`` |
| 4 | Screw 10-16x7/16`` |
| 5 | bracket-main top hinge (lt. or rt.) |
| 6 | Right |
| 6 | Hinge-Main Top |
| 6 | Left |
| 7 | WPL 321162 |
| 8 | Washer |
| 9 | Stiffener-Burner Box Bottom |
| 9 | Rear Stiffener-Burner Box Bottom |
| 9 | Front Stiffener-Burner Box Bottom |
| 10 | Screw 10-32x3/8`` |
| 11 | 14351A & 14551A Models |
| 11 | 14350A & 14550A Models |
| 11 | Bottom-Burner Box |
| 12 | Knob-Gas Valve (4 Req) |
| 13 | Knob-Thermostat |
| 14 | Catch-Main Top Strike (2 Required) |
| 15 | Manifold Panel |
| 15 | Manifold Panel (Golden Wheat) |
| 15 | Manifold Panel (Toast) |
| 15 | Manifold Panel (Platinum) |
| 15 | Coffee |
| 15 | Avocado |
| 15 | Manifold Panel (Almond) |
| 15 | Panel-Manifold (White) |
| 16 | Washer |
| 17 | Keps Nut 8-32 |
| 18 | Strike-Main Top (2 Required) |
| 19 | Golden Wheat |
| 19 | Avocado |
| 19 | Coffee |
| 19 | White |
| 19 | Almond |
| 19 | Platinum |
| 19 | Toast |
| 19 | Main Top |
| 20 | Support Rod-Main Top |
| 21 | Clamp |