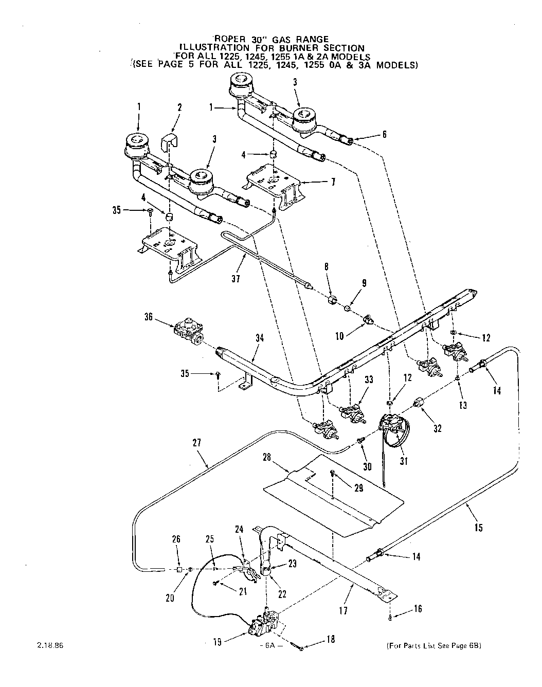
| 1 | Rear Top Burner-Rt. or Lt. (Inc`s. Key 4) |
| 2 | Top Pilot Shield (3 Req) |
| 3 | Front Top Burner-Rt. or Lt. (Inc`s.Key 4) |
| 4 | Pilot Cup (3 Req) |
| 6 | Air Shutter |
| 7 | Support-Top Burner |
| 8 | Compression Nut 1/4`` |
| 9 | Compression Ball Sleeve 1/4`` |
| 10 | Filter-Top Pilot |
| 12 | Gasket |
| 13 | Bolt 10-24x5/16`` (10 Req) |
| 14 | Inverted Nut 3/8`` |
| 15 | Tubing 3/8`` (Shut-Off to Control Valve) |
| 17 | Oven Burner (Inc`s. 21, 33 & 34) |
| 18 | Screw 10-32 x 2`` |
| 19 | Control Valve (Inc. Keys 24 & 25) |
| 20 | Compression Ball Sleeve 3/16`` |
| 21 | Screw 10-24x1/4`` |
| 22 | Aid Shutter |
| 23 | Adjustment Screw-Air Shutter |
| 24 | Pilot Head (Inc`s. 24) |
| 25 | Orifice Cup Only |
| 26 | Compression Nut 3/16`` |
| 27 | Tubing 3/16`` -Oven Therm. To Oven Control Pilot |
| 28 | Baffle - Oven Burner |
| 30 | Loxit Nut 3/16`` |
| 31 | Oven Thermostat |
| 32 | Fitting-Straight 3/8`` |
| 33 | Gas Valve (4 Req-Inc. Key 12) |
| 34 | Manifold Pipe |
| 35 | Screw 10-16x7/16`` |
| 36 | Pressure Regulator |
| 37 | Pilot Tube (Inc. Keys 8 & 9) |