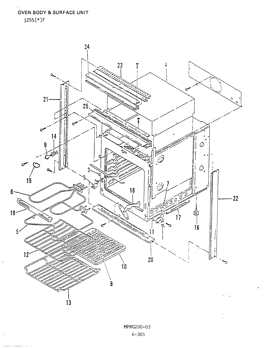
1255WF-CLZ 01 – BODY