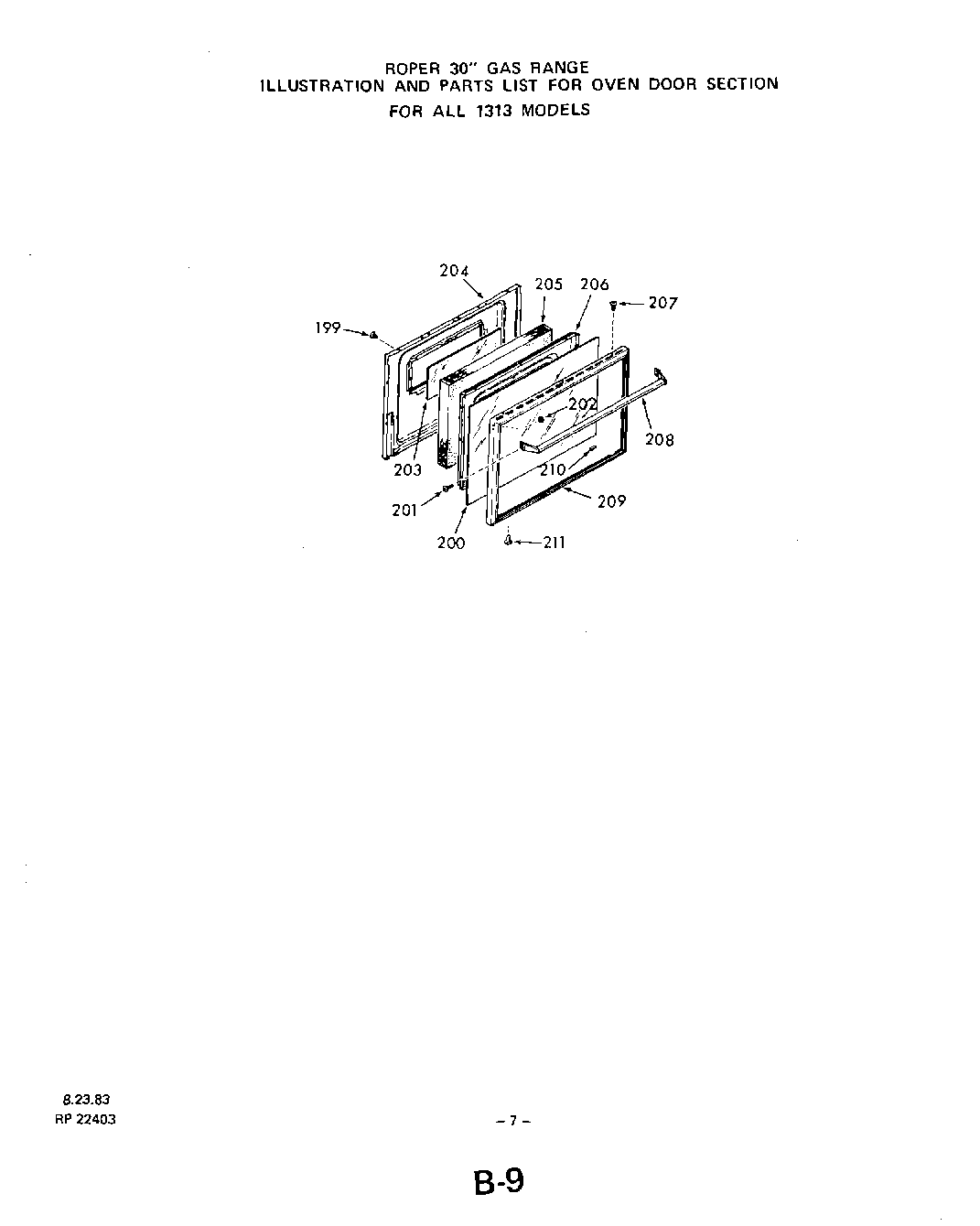
1313^2A 06 – OVEN DOOR