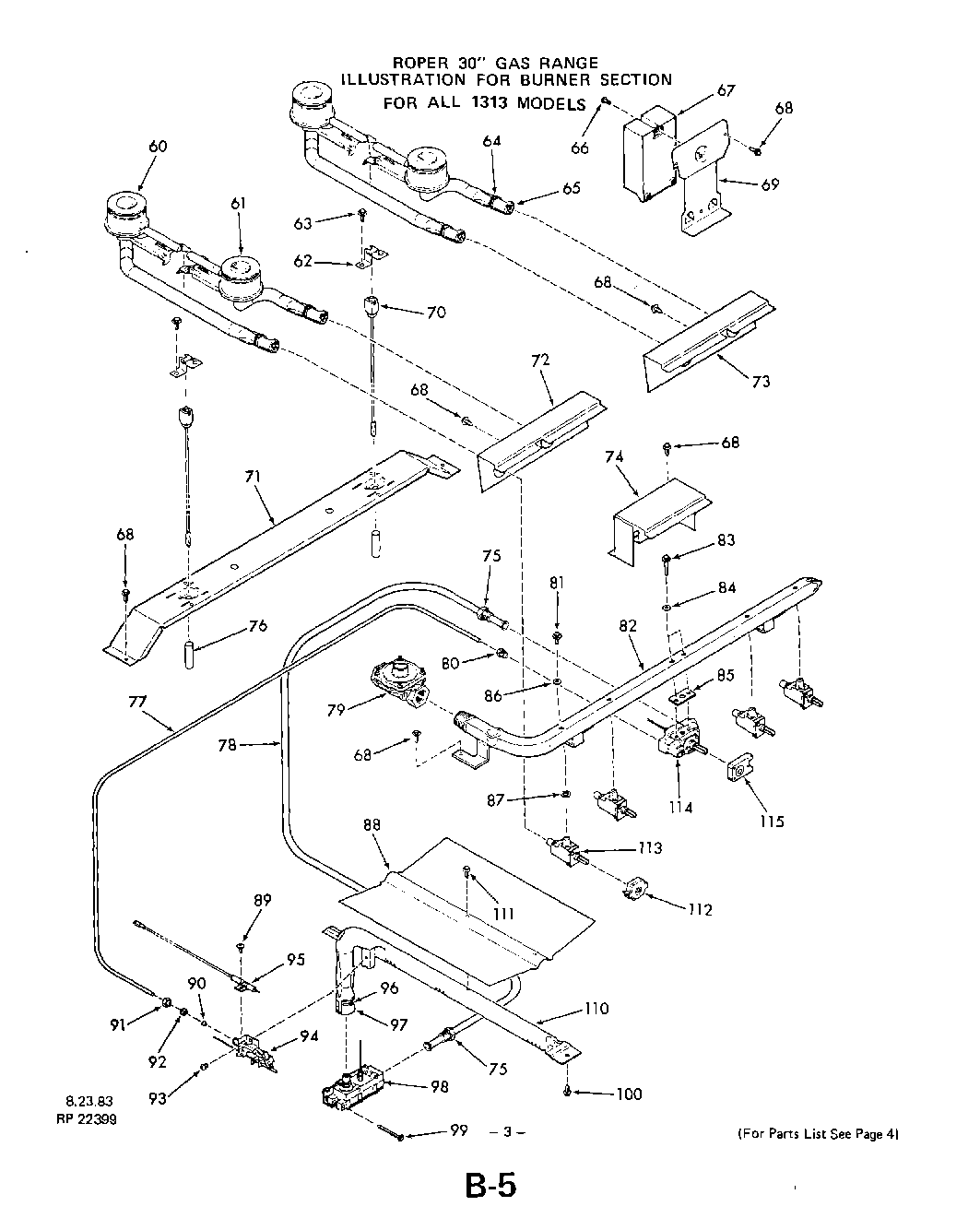
| 60 | Rear Top Burner-Lt. or Rt. (Inc`s 64 & 65) |
| 61 | Front Top Burner-Lt. or Rt. (Inc`s 64 & 65) |
| 62 | panel, side l.h. (almond panel, side r.h.) |
| 64 | Adjustment Screw-Air Shutter |
| 65 | Air Shutter |
| 66 | Screw 6-32 x 1/2`` |
| 67 | Module - Spark Igniter |
| 68 | WP112432 Whirlpool Nut Assembly |
| 69 | Support-Spark Igniter |
| 70 | Right |
| 70 | Panel, Side L.H. (Platinum Panel, Side R.H.) |
| 71 | Support-Top Burner |
| 72 | Valve Cover-Lt.-All Models Except 14633A Models |
| 73 | Valve Cover-Rt.-All Models Except 14633A Models |
| 74 | Wire Cover-Ov. Therm.-All Models Except 14633A Models |
| 75 | Inverted Nut 3/8`` |
| 76 | Sleeve-Igniter Wire (Lt. or Rt.) |
| 77 | Tubing 3/16`` |
| 78 | Tubing 3/8`` |
| 79 | Pressure Regulator |
| 80 | Loxit Nut 3/16`` |
| 81 | Mounting Screw (Inc`s 86) |
| 82 | Manifold Pipe |
| 83 | Mounting Screw (2 Req. for 114) |
| 84 | Gasket (For 83) |
| 85 | Silicone Rubber Gasket |
| 86 | Gasket (For 81) |
| 87 | Silicone Rubber Gasket |
| 88 | Baffle - Oven Burner |
| 89 | Screw 6-32 x 5/16`` |
| 90 | Orifice Cup Only (For 94) |
| 91 | Compression Nut 3/16`` |
| 92 | Compression Ball Sleeve 3/16`` |
| 93 | Screw 10-24x1/4`` |
| 94 | Pilot Only (Inc`s 90) |
| 95 | Electrode - Oven Spark Igniter |
| 96 | Adjustment Screw -Air Shutter |
| 97 | Air Shutter |
| 98 | Control Valve (Inc`s 90 & 94) |
| 99 | Screw 10-32x2`` |
| 110 | WPL 319255 |
| 111 | WPL 316365 |
| 112 | Switch-Gas Valve (4 Req) |
| 113 | Gas Valve (5 Req) |
| 114 | WPL 318477 |
| 115 | WPL 318432 |