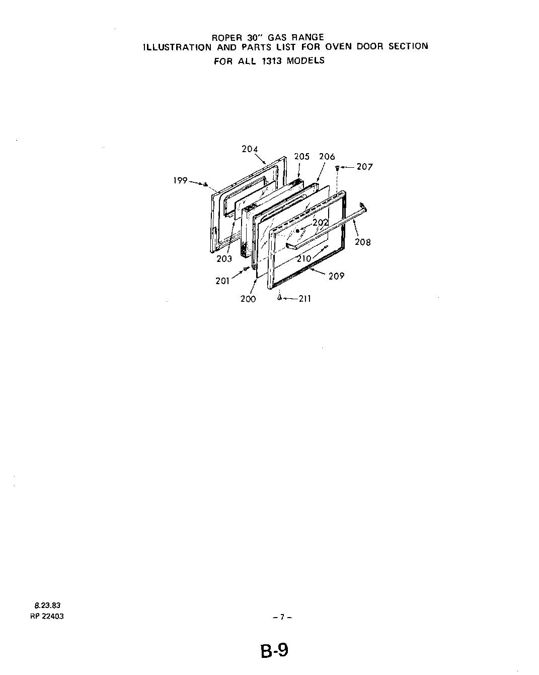
| 199 | WPY04100165 Whirlpool Surface Element |
| 200 | Outer Glass-Oven Door |
| 201 | Screw 8-32 x 1/2`` |
| 202 | Keps Nut 8-32 |
| 203 | Inner Glass-Oven Door |
| 204 | Lining-Oven Door |
| 205 | Insulation |
| 206 | Retainer - Oven Door Insulation |
| 207 | Screw 6Ax3/8`` |
| 208 | Handle-Oven Door |
| 209 | Frame-Door Glass |
| 210 | Cushion-Door Glass |
| 211 | Screw 10-32 x 1/2`` |
| 211 | Switches-Gas Valve-All Models Except 14633A Models |
| 211 | Switches-Gas Valve-All 14633A Models |