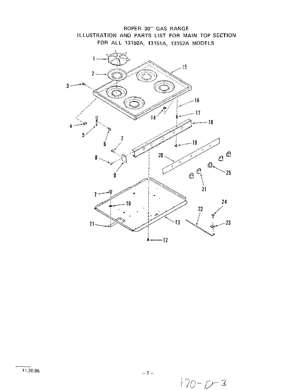
| 1 | Top Grate (4 Required) |
| 2 | Spill Bowl |
| 3 | Screw-10-32x1/2`` |
| 4 | bracket-main top hinge (lt. or rt.) |
| 5 | Left |
| 5 | Right |
| 6 | WPL 321162 |
| 7 | Screw 10-16x7/16`` |
| 8 | Screw 6-20x3/8`` |
| 9 | End Cap-Manifold Panel (Right) |
| 9 | End Cap-Manifold Panel (Left) |
| 10 | Washer |
| 11 | Front Stiffener-Burner Box Bottom |
| 11 | Rear Stiffener-Burner Box Bottom |
| 12 | Screw 10-32x3/8`` |
| 13 | Bottom-Burner Box (14450A Models) |
| 13 | Burner Box Bottom (13152A Models) |
| 14 | Keps Nut 8-32 |
| 15 | Coffee |
| 15 | Avocado |
| 15 | White |
| 15 | Golden Wheat |
| 15 | Almond |
| 16 | Washer |
| 17 | Strike-Main Top (2 Required) |
| 18 | Manifold Panel |
| 19 | Catch-Main Top Strike (2 Required) |
| 20 | Trim-Manifold Panel |
| 21 | Knob-Gas Valve (4 Req) |
| 22 | Support Rod-Main Top |
| 23 | Clamp |
| 24 | WPL 316365 |
| 25 | Knob-Thermostat |