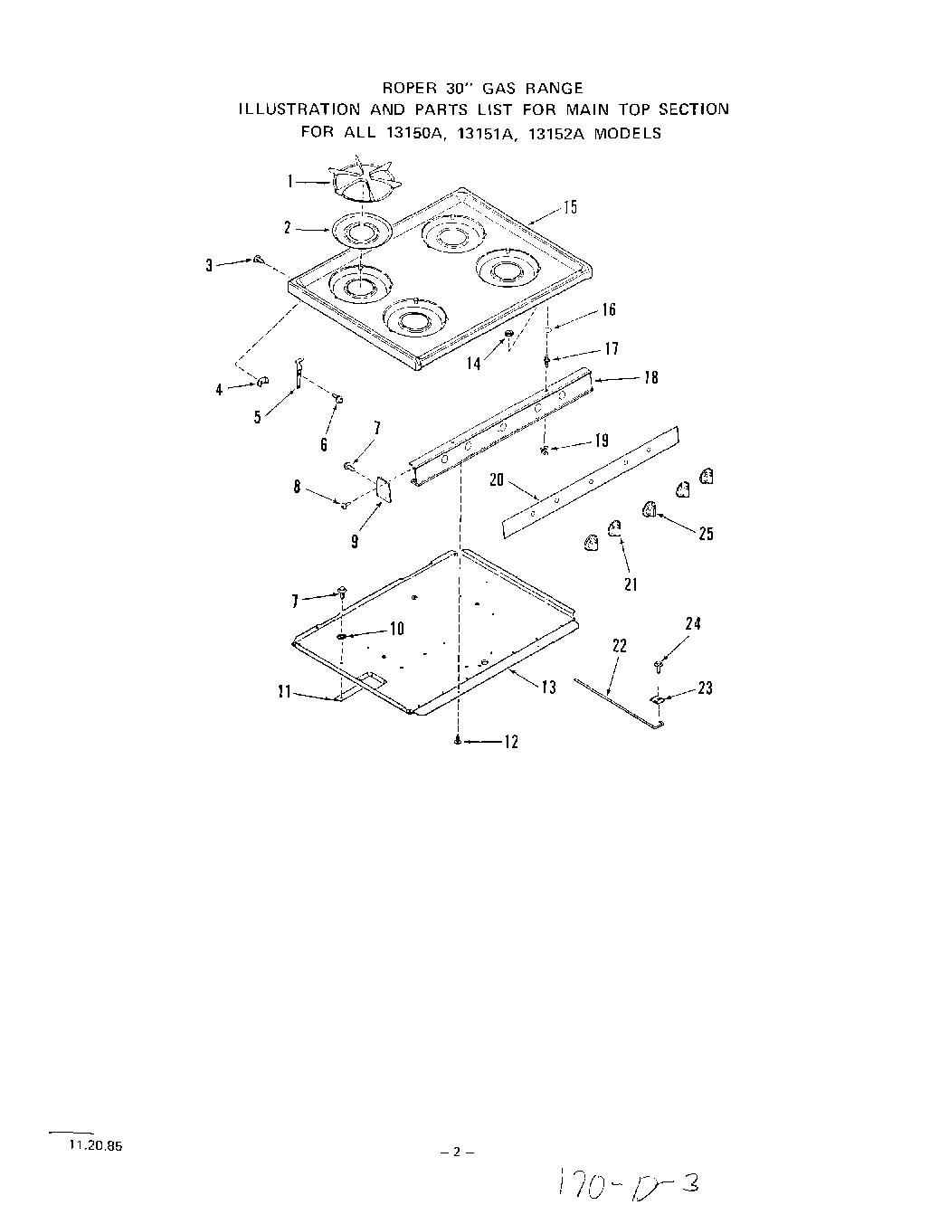
1315W2A 03 – MAIN TOP