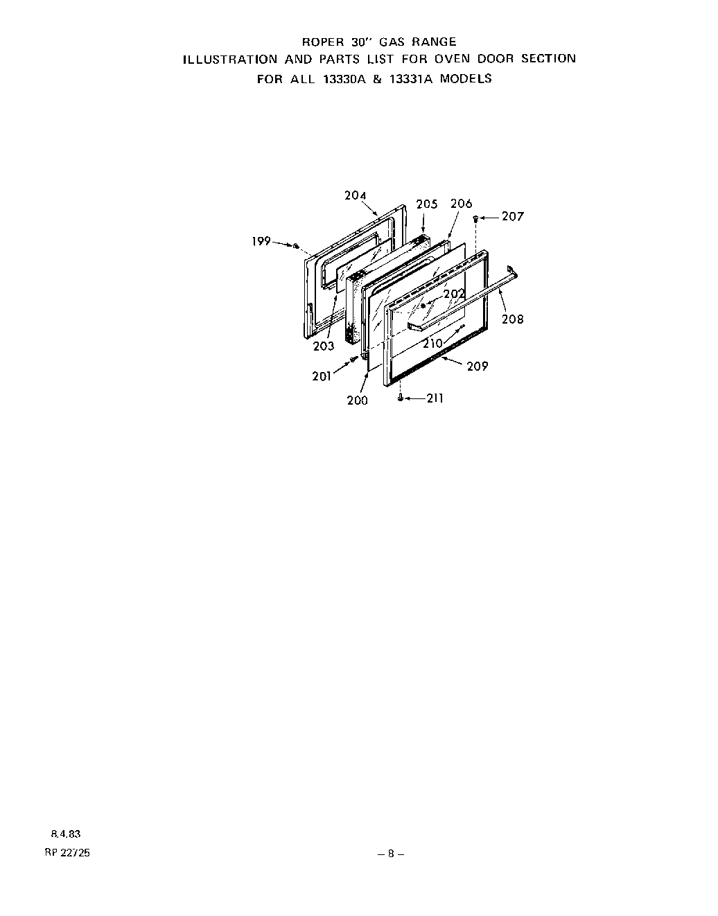
1333W0A 06 – LIT/OPTIONALadmin2025-04-26T08:34:36+00:001333W0A 06 – LIT/OPTIONAL ProductsPositionProductxWire HarnessGas Valve Sw - All 18721A Models199WPY04100165 Whirlpool Surface Element200Outer Glass-Oven Door201Screw 8-32 x 1/2``202Keps Nut 8-32203Inner Glass-Oven Door204Lining - Oven Door205Insulation206Retainer - Oven Door Insulation207Screw 6Ax3/8``208Handle-Oven Door209Frame-Door Glass210Cushion-Door Glass211Backguard211bezel control knob (4)211Gas Valve Switches - All 18720A Models211Thermostat211Screw 10-32 x 1/2``211Repair Parts List