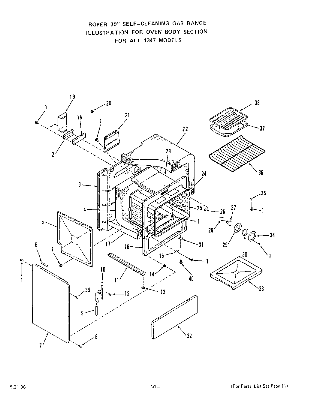
1347^0A 08 – OVEN DOOR