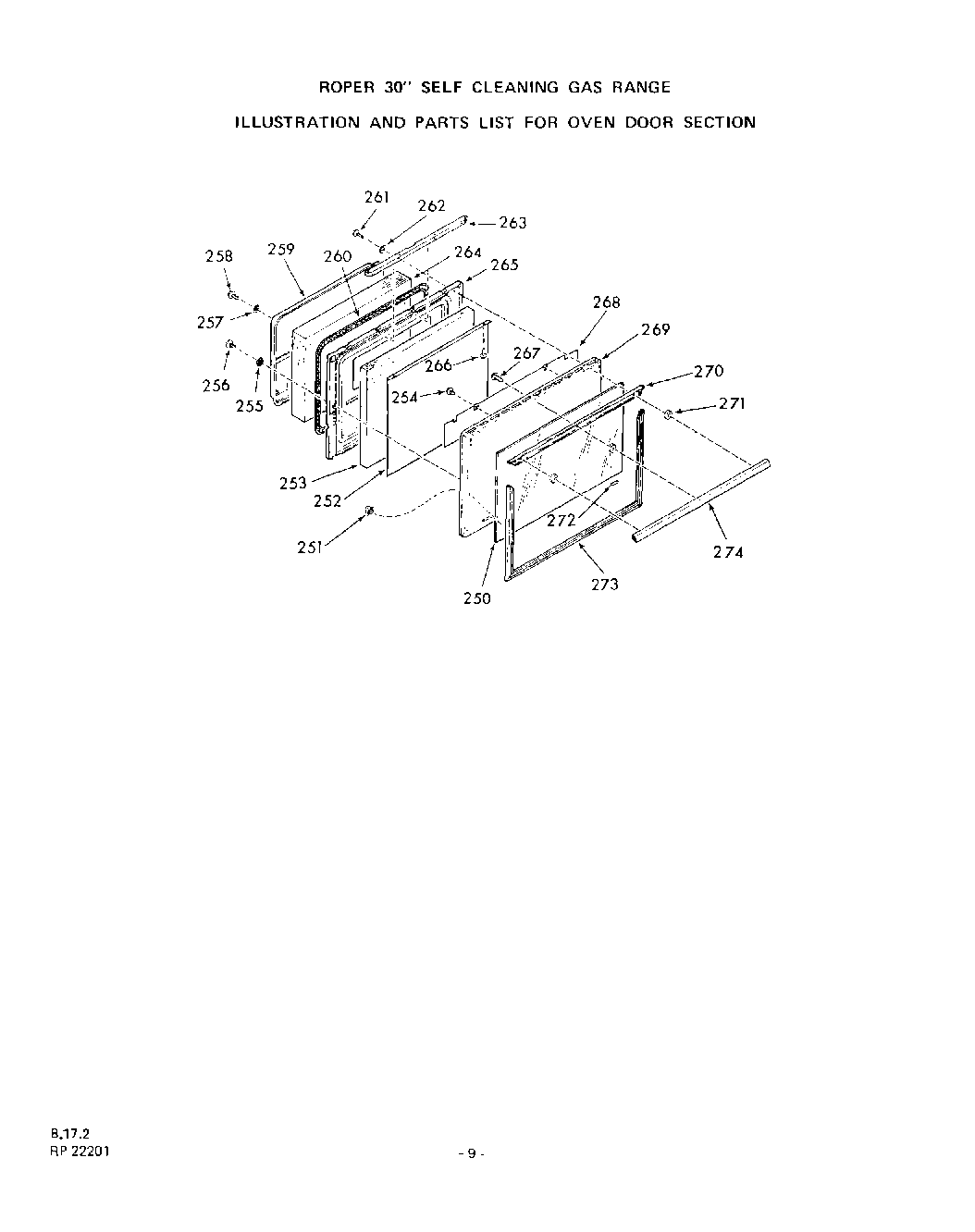
1353^2A 08 – ROTISSERIE , GRIDDLEadmin2025-04-26T08:34:26+00:001353^2A 08 – ROTISSERIE , GRIDDLE ProductsPositionProduct250Outer Door Glass251Fastener (7 Required)252Insulation Retainer253Insulation-Oven Door Lining254Screw 10 - 32 x 1/4``255Lockwasher256Screw 10-32 x 1/2``257Washer258WPL 316365259Plug-Oven Door Lining260Gasket-Oven Door261Screw 10-32x2-1/2``262WPL 21067263Stiffener-Oven Door Lining264Insulation-Oven Door Plug265Lining-Oven Door266WP112432 Whirlpool Nut Assembly267Screw 10-32x1``268Shield-Oven Door Lining269Front Panel-Oven Door (White)269Front Panel-Oven Door (Golden Wheat)269Front Panel-Oven Door (Almond)270Top Frame-Oven Door Glass271Spacer272Cushion-Door Glass273Frame-Oven Door Glass274Handle