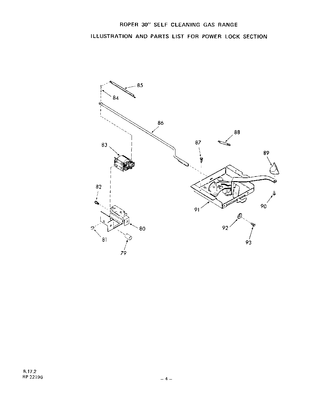
| 79 | Spacer (2 Req) |
| 80 | Bracket w/Switch |
| 81 | Mounting Screw |
| 82 | Screw 10 - 32 x 7/16`` |
| 83 | Solenoid Only |
| 84 | Cotter Pin |
| 85 | Spring-Solenoid |
| 86 | Rod-Oven Door Lock |
| 87 | WP112432 Whirlpool Nut Assembly |
| 88 | Spring-Lock Handle |
| 89 | Knob-Lock Handle |
| 90 | Screw 6-32x15/32`` |
| 91 | Oven Door Lock Assem (Inc Key 88) |
| 92 | Washer |
| 93 | WPL 316365 |