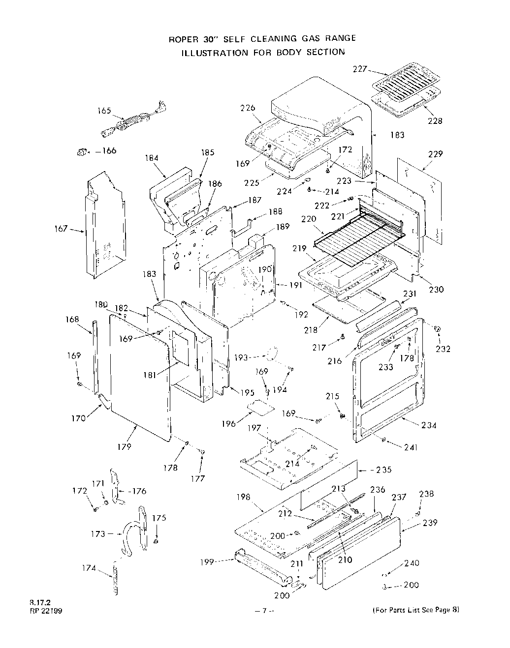
| 165 | Range Service Cord |
| 166 | Disconnect |
| 167 | Wire Cover |
| 168 | Stiffener - Body Side (Lt. or Rt.) |
| 169 | WP112432 Whirlpool Nut Assembly |
| 170 | Lower Support - Body Side (Left) |
| 170 | Lower Support - Body Side (Right) |
| 171 | Lockwasher |
| 172 | Screw 10 - 32 x 7/16`` |
| 173 | Oven Door Hinge-Lt. or Rt. (Inc. Key 12) |
| 174 | Bracket, Receptacle |
| 175 | Shoulder rivet |
| 176 | Hinge Bracket w/Roller (Inc. Key 175) (Left) |
| 176 | Hinge Bracket w/Roller (Inc. Key 175) (Right) |
| 177 | Screw 8ABx3/4`` |
| 178 | Washer |
| 179 | Body Side-Lt. or Rt. (Inc. Key 73) (Golden Wheat) |
| 179 | Body Side-Lt. or Rt. (Inc. Key 73) (Almond) |
| 179 | Body Side-Lt. or Rt. (Inc. Key 73) (White) |
| 180 | WPL 301769 |
| 181 | Baffel-Side Panel (Lt or Rt) |
| 182 | Upper Insulation Retainer-Lt. |
| 183 | Insulation-Oven Top & Sides (1 Piece) |
| 184 | Cover-Flue Deflector |
| 185 | Flue Deflector |
| 186 | Gasket-Flue Deflector |
| 187 | Main Back |
| 188 | WPL 282156 |
| 189 | Insulation-Oven Back |
| 190 | Cover Plate, Rotisserie |
| 191 | Oven Back |
| 192 | Shoulder Screw 10-32x1/2`` |
| 193 | Cover Plate |
| 195 | Oven Side-Left |
| 196 | Access Plate |
| 197 | Bottom-Oven Burner |
| 198 | Main Bottom |
| 199 | Base w/Levelers (Lt. or Rt.) |
| 210 | Retainer - Seal |
| 211 | W10900107 Whirlpool Oven Surface Element Switch |
| 212 | Seal |
| 213 | WPL 313671 |
| 214 | WPL 321162 |
| 215 | Catch-Strike |
| 216 | WPL 282118 |
| 217 | WPL 97220 |
| 218 | WPL 282127 |
| 219 | WPL 283457 |
| 220 | WPL 305361 |
| 221 | WPL 306150 |
| 221 | WPL 306149 |
| 222 | Thermostat Bulb Retainer (2 Required) |
| 223 | WPL 322073 |
| 224 | Cover Plate-Thermostat Bulb |
| 225 | WPL 285860 |
| 226 | Oven Top |
| 227 | WPL 282273 |
| 228 | WPL 282278 |
| 229 | WPL 239603 |
| 230 | WPL 294195 |
| 231 | WPL 281574 |
| 232 | WPL 100576 |
| 233 | WPL 316365 |
| 234 | WPL 321919 |
| 235 | WPL 304125 |
| 236 | 4396923 Whirlpool Broil Pan Set Gray Porcelain |
| 237 | WPL 282952 |
| 238 | Speed Nut 10 - 32 |
| 239 | WPL 311514 |
| 239 | Harness, Control |
| 239 | WPL 311518 |
| 240 | WPL 21067 |
| 241 | Washer |