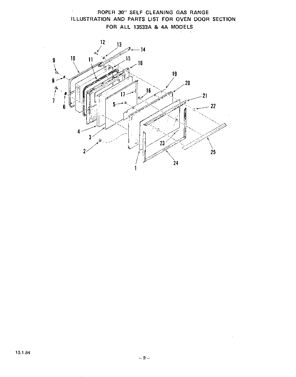
1353W3A 07 – OVEN DOOR