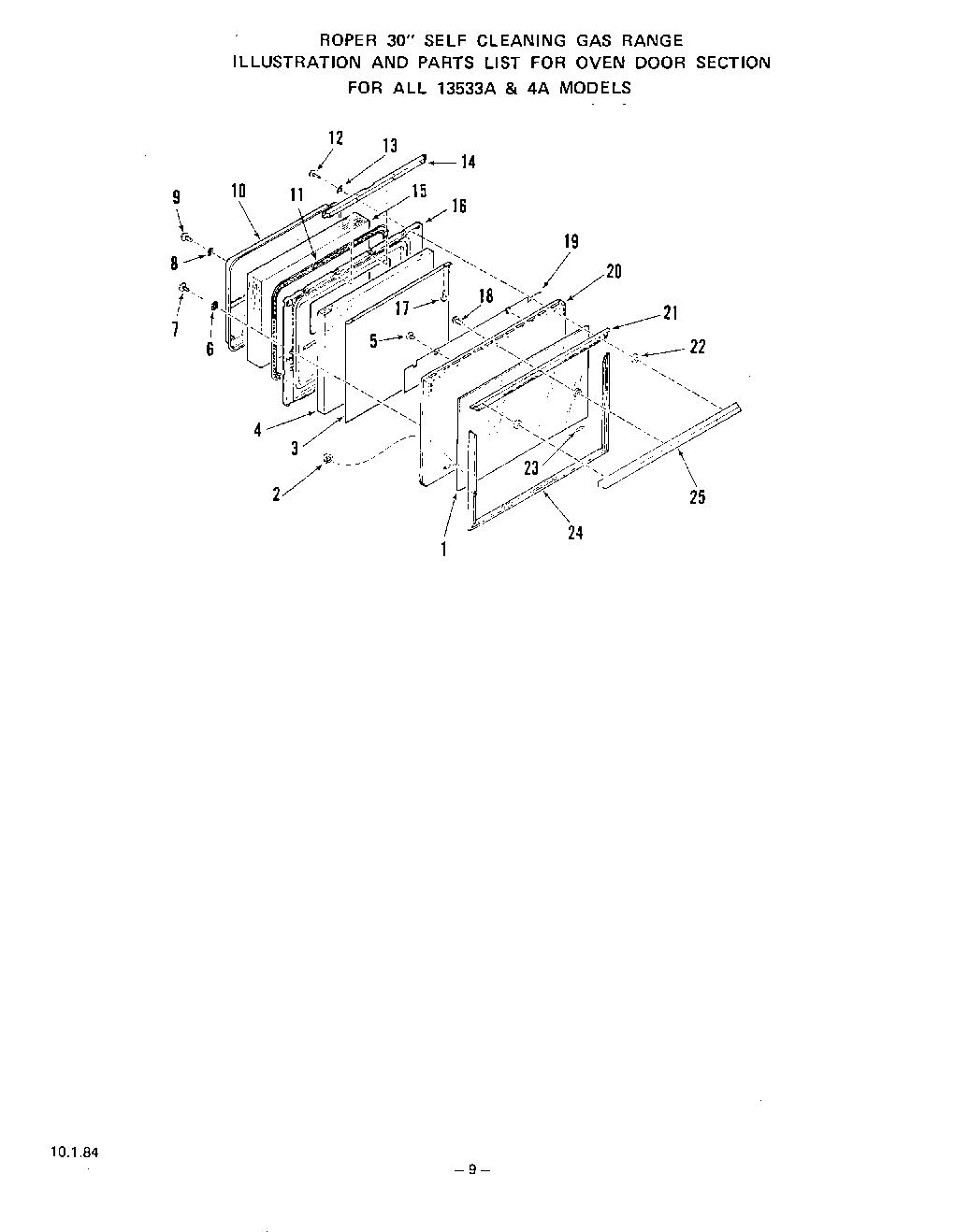
| 1 | Outer Door Glass |
| 2 | Fastener (7 Required) |
| 3 | Insulation Retainer |
| 4 | Insulation-Oven Door Lining |
| 5 | Screw 10 - 32 x 1/4`` |
| 6 | Lockwasher |
| 7 | Screw 10-32 x 1/2`` |
| 8 | Washer |
| 9 | WPL 316365 |
| 10 | Plug-Oven Door Lining |
| 11 | Gasket-Oven Door |
| 12 | Screw 10-32x2 3/4`` |
| 13 | WPL 21067 |
| 14 | Stiffener-Oven Door Lining |
| 15 | Insulation-Oven Door Plug |
| 16 | Lining-Oven Door |
| 17 | WP112432 Whirlpool Nut Assembly |
| 18 | Screw 10-32x1`` |
| 19 | Shield-Oven Door Lining |
| 20 | Front Panel-Oven Door (White) |
| 20 | Front Panel-Oven Door (Golden Wheat) |
| 20 | Front Panel-Oven Door (Almond) |
| 21 | Top Frame-Oven Door Glass |
| 22 | Spacer |
| 23 | Cushion-Door Glass |
| 24 | Frame-Oven Door Glass |
| 25 | Handle |