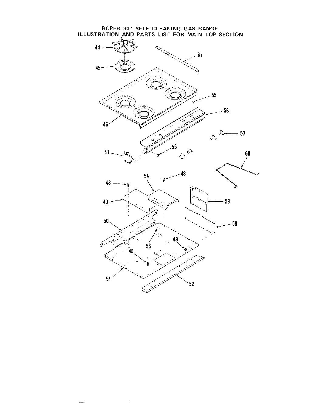
| 44 | Top Grate (4 Required) |
| 45 | Spill Bowl (4 Required) |
| 46 | Coffee |
| 46 | White |
| 46 | Almond |
| 46 | Golden Wheat |
| 46 | Avocado |
| 47 | Left |
| 47 | Right |
| 48 | WP112432 Whirlpool Nut Assembly |
| 49 | Cover-Lock Rod |
| 50 | Rear Support-Main Top |
| 51 | Burner Box Bottom |
| 52 | Front Extension-Burner Box Bottom |
| 53 | Plug Button |
| 54 | Cover-Lock |
| 55 | Screw 6-32x3/8`` |
| 56 | Manifold Panel |
| 57 | Knob-Gas Valve (4 Required) |
| 57 | Knob-Gas Valve (4 Required) |
| 58 | Right |
| 58 | Left |
| 59 | Baffle-Burner Box Bottom (Rt. or Lt.) |
| 60 | Support Rod-Main Top |
| 60 | Support Rod-Main Top |
| 61 | Trim-Main Top (Left) |
| 61 | Trim-Main Top (Right) |