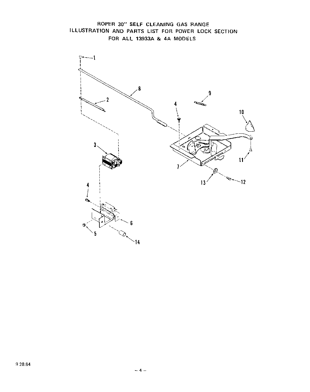
| 1 | Stud |
| 2 | Spring-Solenoid |
| 3 | Solenoid Only |
| 4 | WP112432 Whirlpool Nut Assembly |
| 5 | Mounting Screw |
| 6 | Bracket w/Switch |
| 7 | Oven Door Lock Assm. (Inc. Key 9) |
| 8 | Rod-Oven Door Lock |
| 9 | Spring-Lock Handle |
| 10 | Knob-Lock Handle |
| 11 | Screw 6-32x15/32`` |
| 12 | WPL 316365 |
| 13 | WPL 21067 |
| 14 | Spacer (2 Req) |