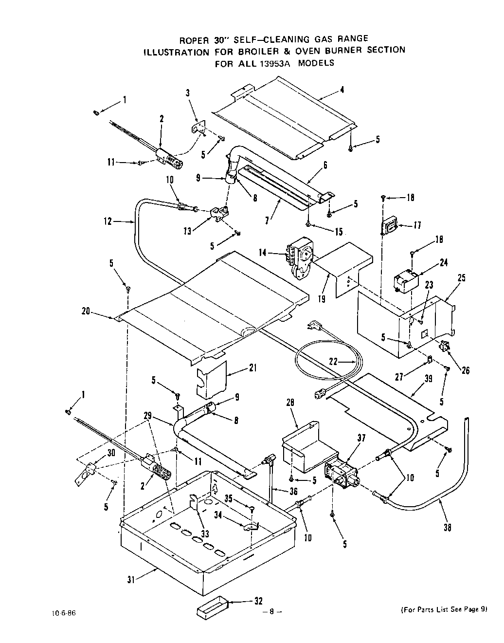
| 1 | Wire Connector (4 Req) |
| 2 | Igniter - Bake or Broil |
| 3 | Bracket-Broiler Burner Igniter |
| 4 | Baffle-Broiler Burner |
| 5 | Screw 10-16x7/16`` |
| 6 | Broiler Burner (Inc`s. Keys 7, 8, 9, 15) |
| 7 | Baffle |
| 8 | Adjustment Screw -Air Shutter |
| 9 | Air Shutter |
| 10 | Inverted Nut 3/8`` |
| 11 | WP112432 Whirlpool Nut Assembly |
| 12 | Tubing 3/8`` (Control Valve to Broiler Orifice) |
| 13 | Broiler Orifice Fitting |
| 14 | Timer |
| 15 | Screw 8 - 32x3/8`` |
| 17 | Ballast |
| 18 | Screw 6-20x3/8`` |
| 19 | Shield |
| 20 | Baffle-Oven Burner |
| 21 | Shield-Orifice Fitting |
| 22 | Range Service Cord |
| 23 | WPL 78565 |
| 24 | Spark Module |
| 25 | Mounting Bracket-Components |
| 26 | Disconnect |
| 27 | Clip |
| 28 | Cover-Control Valve |
| 29 | Oven Burner |
| 30 | Bracket-Igniter |
| 31 | Bottom-Oven Burner Box |
| 32 | Insulation Retainer-Oven Orifice |
| 33 | Plate-Orifice Fitting |
| 34 | Latch-Oven Burner Box Bottom |
| 35 | Shoulder Screw |
| 36 | Tubing 3/8``w/Orifice Fitting (Con. Valve) to Oven Burner) |
| 37 | Control Valve |
| 38 | 18850A Models |
| 39 | Shield-Component Wire |