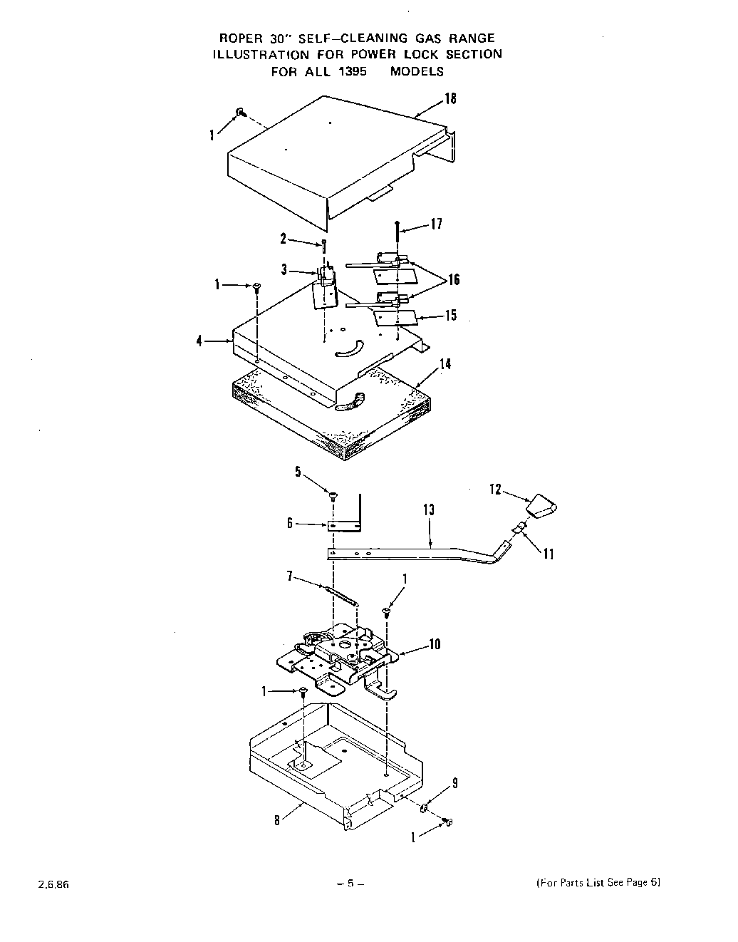
1395W1A 05 – TOP BURNER