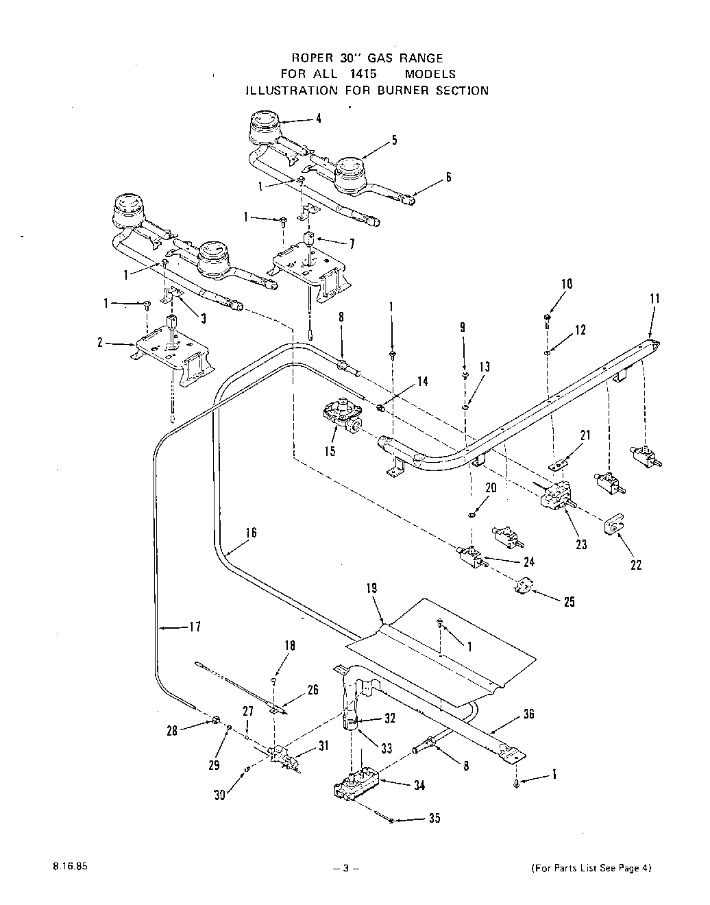
| 1 | Screw 10-16x7/16`` |
| 2 | Support-Top Burner (Lt. or Rt.) |
| 3 | panel, side l.h. (almond panel, side r.h.) |
| 4 | Rear Top Burner-Rt. or Lt. (Inc`s. Key 4) |
| 5 | Front Top Burner-Rt. or Lt. (Inc`s.Key 4) |
| 6 | Air Shutter |
| 7 | Electrode-Spark Igniter (Left) |
| 7 | Electrode-Spark Igniter |
| 7 | Panel, Side L.H. (Platinum Panel, Side R.H.) |
| 8 | Inverted Nut 3/8`` |
| 9 | Mounting Screw (Inc`s 86) |
| 10 | Mounting Screw (2 Req. for 114) |
| 11 | Manifold Pipe |
| 12 | Gasket (For 83) |
| 13 | Silicone Rubber Gasket (For Key 26) |
| 14 | Loxit Nut 3/16`` |
| 15 | Pressure Regulator |
| 16 | Tubing 3/8`` |
| 17 | WP3149400 Whirlpool Oven Infinite Switch |
| 18 | Screw 6Ax3/8`` |
| 19 | Baffle-Oven Burner |
| 20 | Silicone Rubber Gasket |
| 21 | Silicone Rubber Gasket |
| 22 | WPL 318432 |
| 23 | Oven Thermostat (Inc`s. 21) |
| 24 | Gas Valve (4 Req, Inc`s 32) |
| 25 | Panel, Side L.H. (White) |
| 26 | Electrode-Oven Spark Igniter |
| 27 | Orifice Cup Only (For 94) |
| 28 | Compression Nut 3/16`` |
| 29 | Compression Ball Sleeve 3/16`` |
| 30 | Screw 10-24x1/4`` |
| 31 | Pilot Only (Inc`s 90) |
| 32 | Adjustment Screw -Air Shutter |
| 33 | Air Shutter |
| 34 | Control Valve (Inc`s. 27 & 31) |
| 35 | Screw 10-32 x 2`` |
| 36 | WPL 319255 |