1423^0A 05 – ROTISSERIE , GRIDDLE
Products
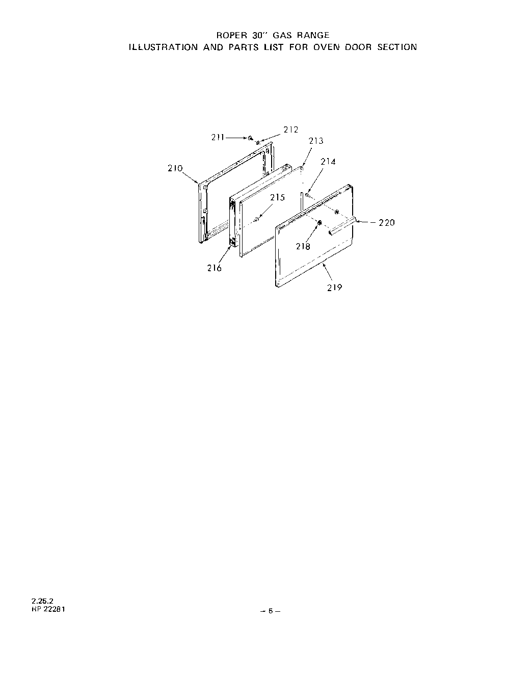
| Position | Product |
|---|---|
| 210 | Lining-Oven Door |
| 211 | Screw 10-32 x 1/2`` |
| 212 | Washer |
| 213 | Retainer-Oven Door Insulation |
| 214 | WPL 316365 |
| 215 | WP112432 Whirlpool Nut Assembly |
| 216 | Insulation-Oven Door |
| 218 | spacer-handle |
| 219 | Cooktop (Almond) |
| 219 | White |
| 220 | Handle-Compartment Door |