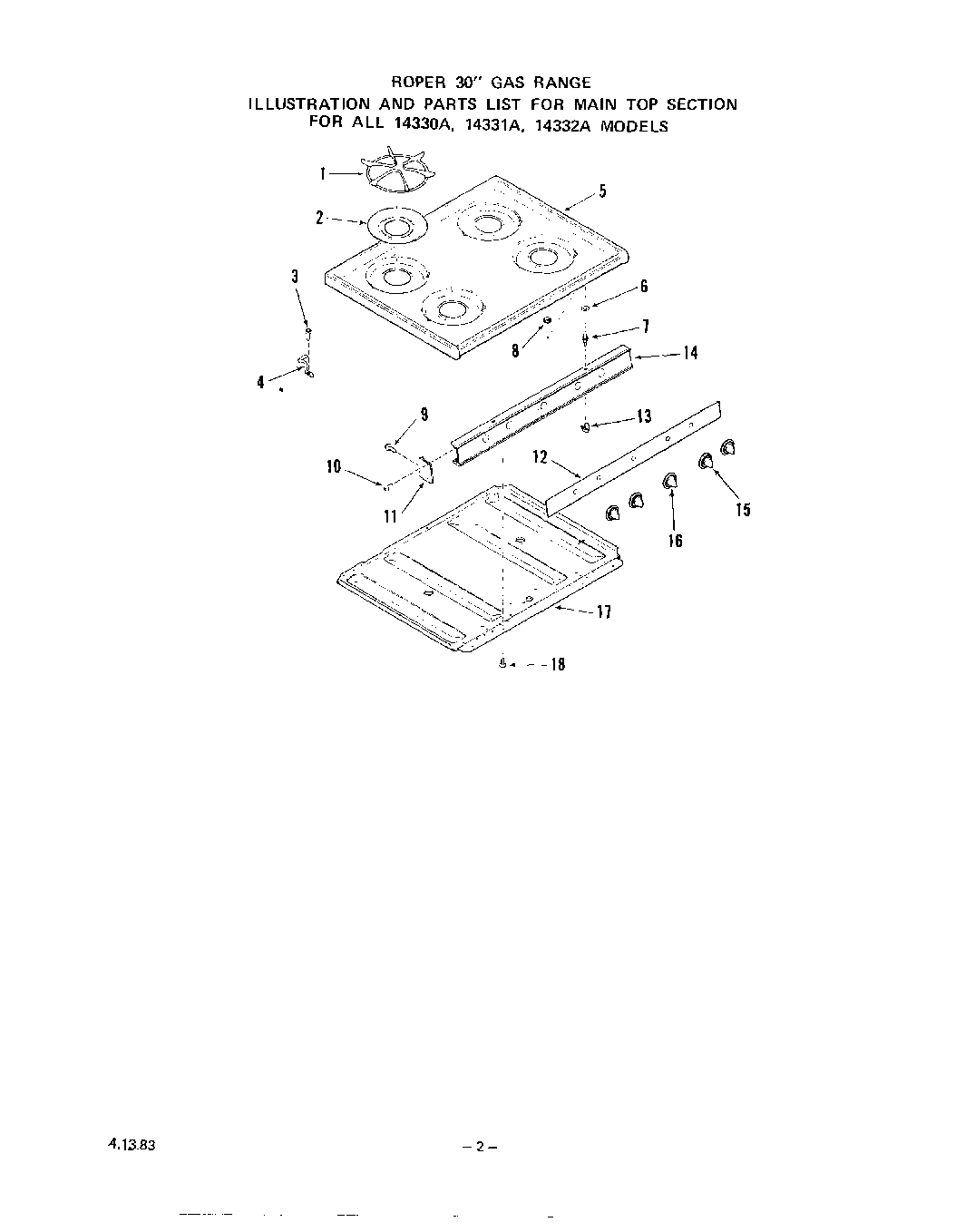
| 1 | Top Grate (4 Required) |
| 2 | Spill Bowl |
| 3 | WPL 316365 |
| 4 | Hinge (Left) |
| 4 | Hinge (Right) |
| 5 | Golden Wheat |
| 5 | Almond |
| 5 | Chrome |
| 5 | White |
| 6 | Washer |
| 7 | Strike-Main Top (2 Required) |
| 8 | Keps Nut 8-32 |
| 9 | Screw 10 - 32 x 7/16`` |
| 10 | Screw 6-32x3/8`` |
| 11 | End Cap-Manifold Panel (Right) |
| 11 | End Cap-Manifold Panel (Left) |
| 12 | Trim-Manifold Panel |
| 13 | Catch-Main Top Strike (2 Required) |
| 14 | Manifold Panel |
| 14 | Manifold Panel (Black) |
| 15 | All 14630A Models |
| 15 | All 14631A, 14632A & 14633A Models |
| 16 | All 14630A Models |
| 16 | All 14631A, 14632A & 14633A Models |
| 17 | Seal, Foam (2) |
| 18 | Screw 10-32x3/8`` |