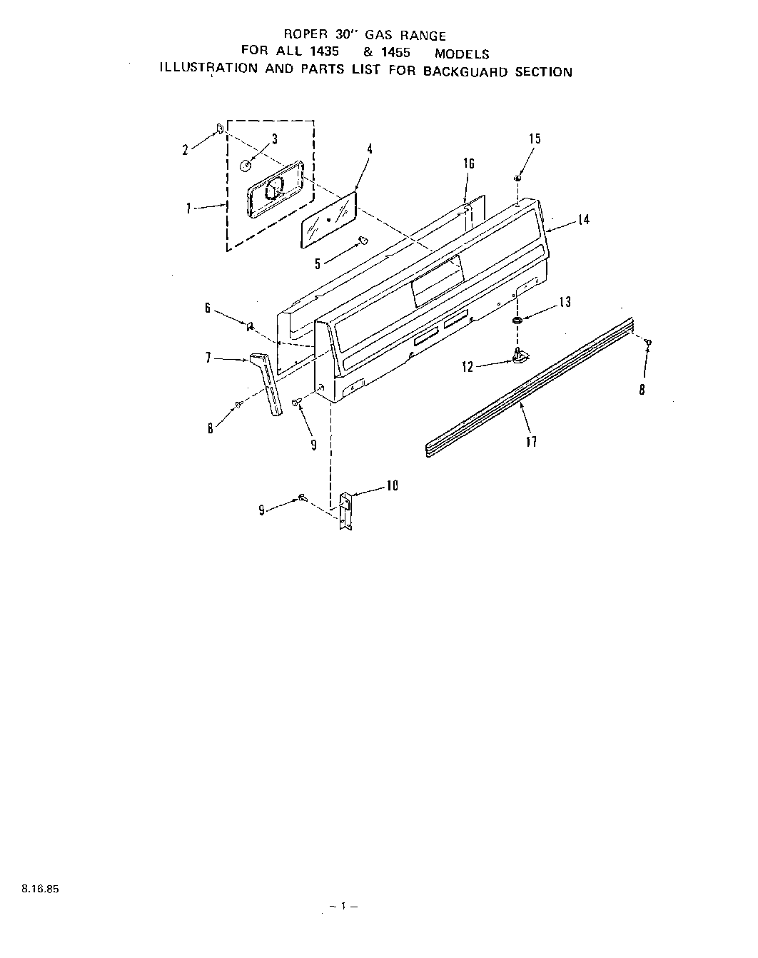
| 1 | Clock w/4 Hr. Timer (Inc`s. Key 3) |
| 2 | Clip-Clock (4 Req) |
| 3 | Clock Motor |
| 4 | Clock Glass |
| 5 | Knob-Clock (Start & Stop Time) |
| 6 | Clip |
| 7 | End Cap (Left) |
| 7 | End Cap (Right) |
| 7 | End Cap |
| 8 | Screw 6-20x3/8`` |
| 9 | Screw 10-16x7/16`` |
| 10 | Support-Backguard (Left) |
| 10 | Support-Backguard |
| 10 | Support-Backguard (Right) |
| 11 | Screw 10ABx1/2`` |
| 12 | Push Switch-Oven Light |
| 13 | Lock Nut |
| 14 | 14550A Models |
| 14 | Crosstie-Backguard |
| 14 | Crosstie-Backguard |
| 15 | Knurled Nut |
| 16 | Wire Cover-Backguard |
| 17 | Trim-Crosstie |