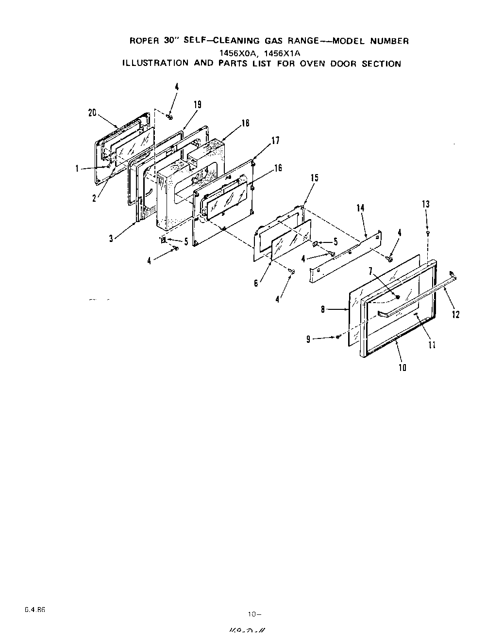
1456^1A 07 – WIRE HARNESS , BACKSPLASH , GRIDadmin2025-04-26T09:00:10+00:001456^1A 07 – WIRE HARNESS , BACKSPLASH , GRID ProductsPositionProduct1Seal-Inner Glass2Inner Glass-Oven Door3Lining-Oven Door4Screw 10-16x7/16``5Retainer-Door Glass6Intermediate Glass-Oven Door7Keps Nut 8-328outer glass-oven door9Screw 8-32 x 1/2``10Frame-Oven Door11Cushion-Door Glass12Handle-Oven Door13Screw-10-32x1/2``14Baffle-Oven Door15Mounting Plate-Glass16Center Glass-Oven Door17Retainer-Oven Door Insulation18Insulation-Oven Door19Gasket-Oven Door20Plug-Oven Door Lining