14788L0 5
Products
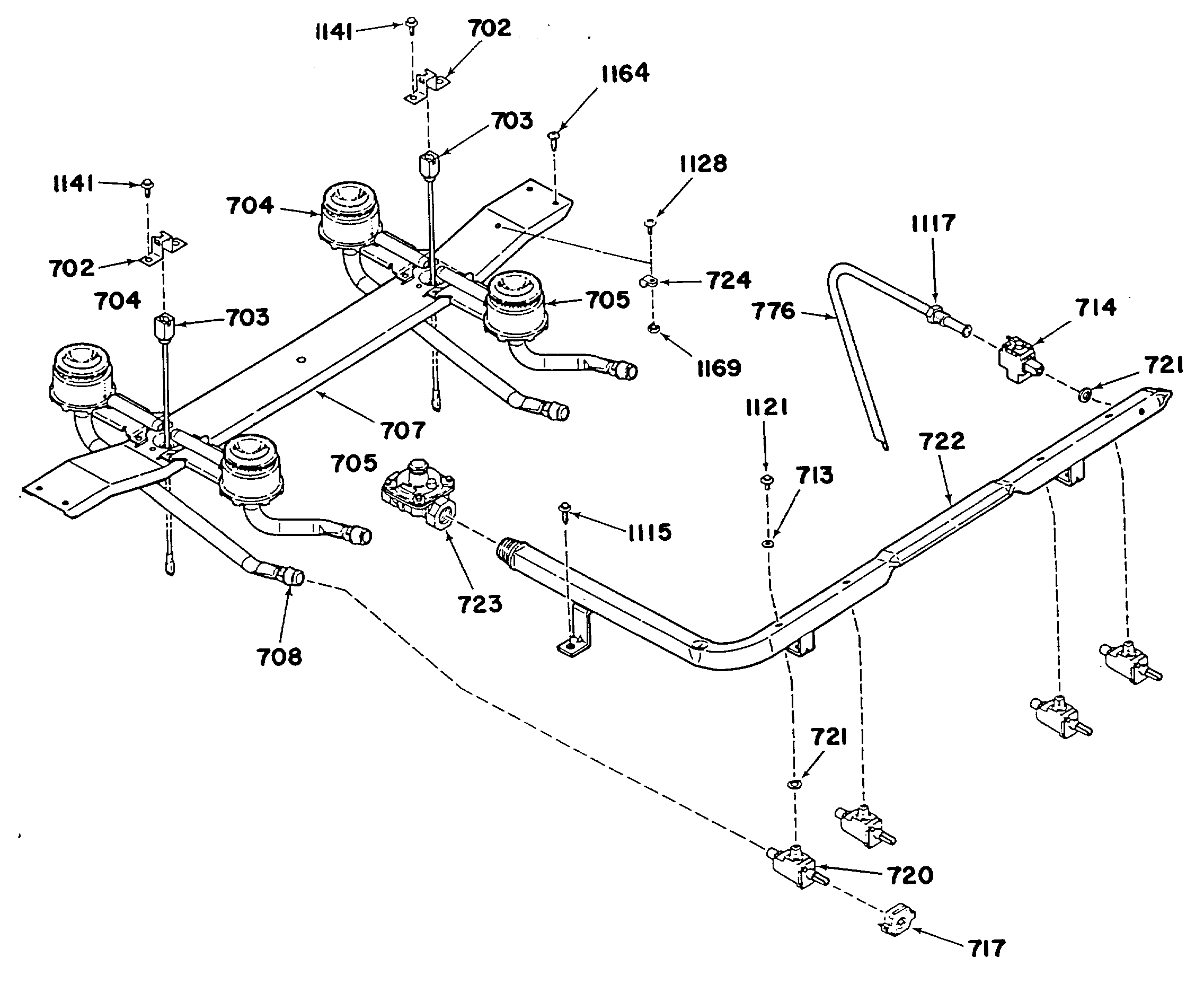
| Position | Product |
|---|---|
| 702 | IGNITER BRACKET |
| 703 | SPARK IGN ELECTRODE LT |
| 703 | CLOCK BRACKET |
| 704 | TOP BURNER-REAR |
| 705 | TOP BURNER-FRONT |
| 707 | GEN WB02X9006 |
| 708 | GEN WB02X9007 |
| 713 | VALVE SCREW GASKET |
| 714 | VALVE--SHUT-OFF |
| 717 | SWITCH-VALVE-TOP BURNER |
| 720 | UNKNOWN |
| 721 | VALVE GASKET |
| 722 | UNKNOWN |
| 723 | GEN WB21X0465 |
| 776 | GEN WB02X9409 |
| 1115 | WB1M1 GE Oven Screw |
| 1117 | NUT |
| 1121 | GEN WB01X1121 |
| 1128 | GEN WB01X1128 |
| 1141 | WB1X1141 GE Oven Screw 8-32 |
| 1164 | SCREW-BRT. NI. |
| 1169 | SCREW |