14888W0 3
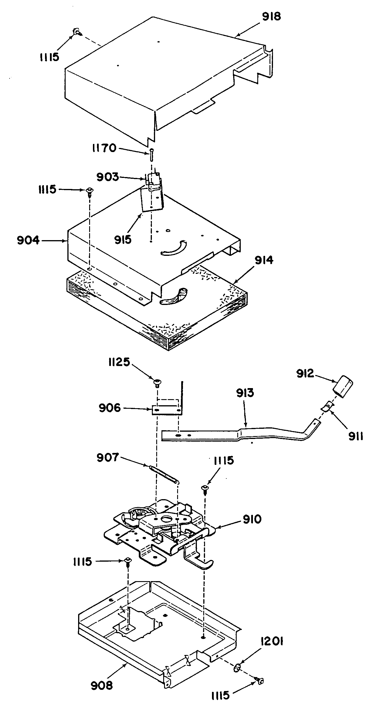
Products
| Position | Product |
|---|---|
| 903 | GEN WB24X0436 |
| 904 | LOCK BOX COVER |
| 906 | HANDLE EXTENSION |
| 907 | LOCK SPRING |
| 908 | GEN WB02X9403 |
| 910 | DOOR LATCH ASM |
| 911 | GEN WB02X0404 |
| 912 | LOCK KNOB |
| 913 | LATCH HANDLE |
| 914 | LATCH ASM INSULATION |
| 915 | SWITCH INSULATOR |
| 1115 | WB1M1 GE Oven Screw |
| 1125 | GEN WB01X1125 |
| 1170 | GEN WB01X1170 |
| 1201 | GEN WB01X1201 |