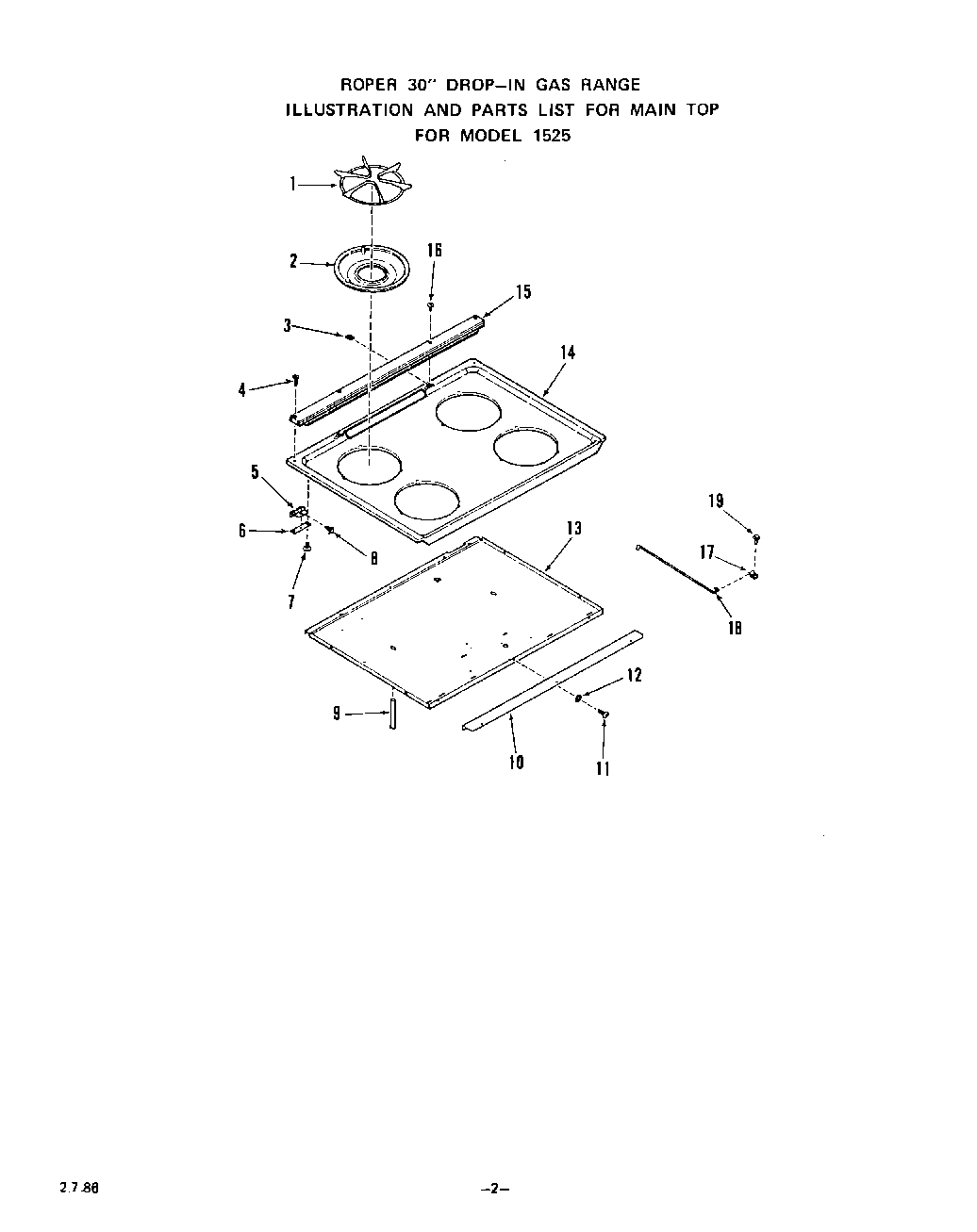
1525^1A 03 – MAINTOP