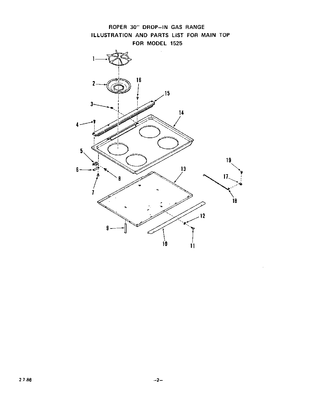
| 1 | 8544761A Whirlpool Exhaust Extension |
| 1 | Top Grate (4 Required) |
| 2 | Aeration Pan 15252A, 3A Models |
| 3 | Speed Nut 6-32 |
| 4 | Screw 6 - 32x7/8`` |
| 5 | Hinge (Lt or Rt) |
| 6 | Mounting Bracket - Hinge (Lt or Rt) |
| 7 | Screw 6-32x3/16`` |
| 8 | WP112432 Whirlpool Nut Assembly |
| 9 | Raceway - Lt or Rt |
| 10 | Extension - Burner Box Bottom (15250A Models) |
| 10 | Extension - Burner Box Bottom (15251A, 15252A, 15253A Models) |
| 11 | Screw 10 - 32 x 17/32`` |
| 12 | Washer |
| 13 | Bottom Burner Box (15250A Models) |
| 13 | Bottom Burner Box (15251A, 15252A, 15253A Models) |
| 14 | Top - Main (Almond 15252A, 15253A Models) |
| 14 | Top - Main (Almond 15250A, 15251A Models) |
| 14 | Top - Main (White 15250A, 15251A Models) |
| 14 | Top - Main (White 15252A, 15253A Models) |
| 15 | Flue Trim Asm. |
| 16 | Screw 6-32x1/2`` |
| 17 | Clip |
| 18 | Support - Main Top |
| 19 | Screw 10-16x7/16`` |