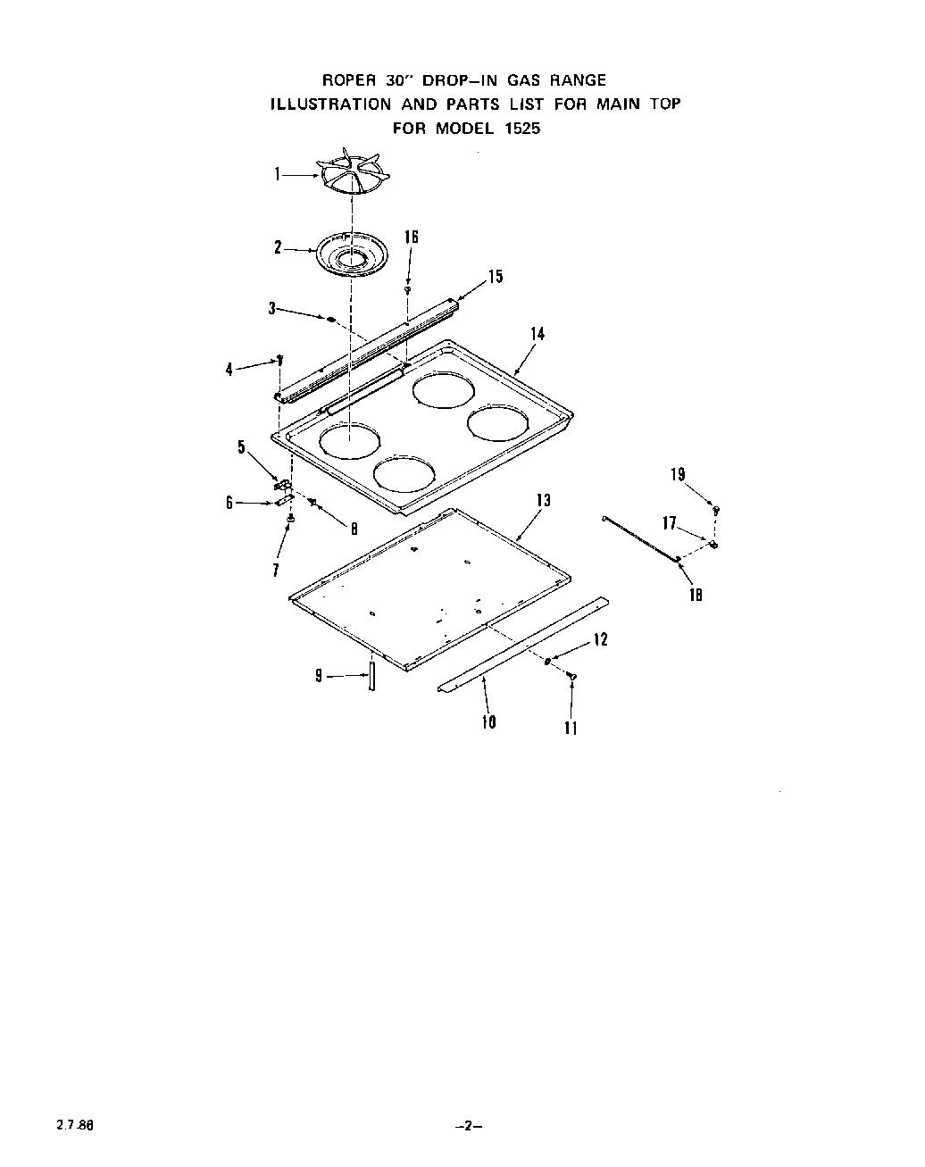
1525^3A 03 – MAINTOP