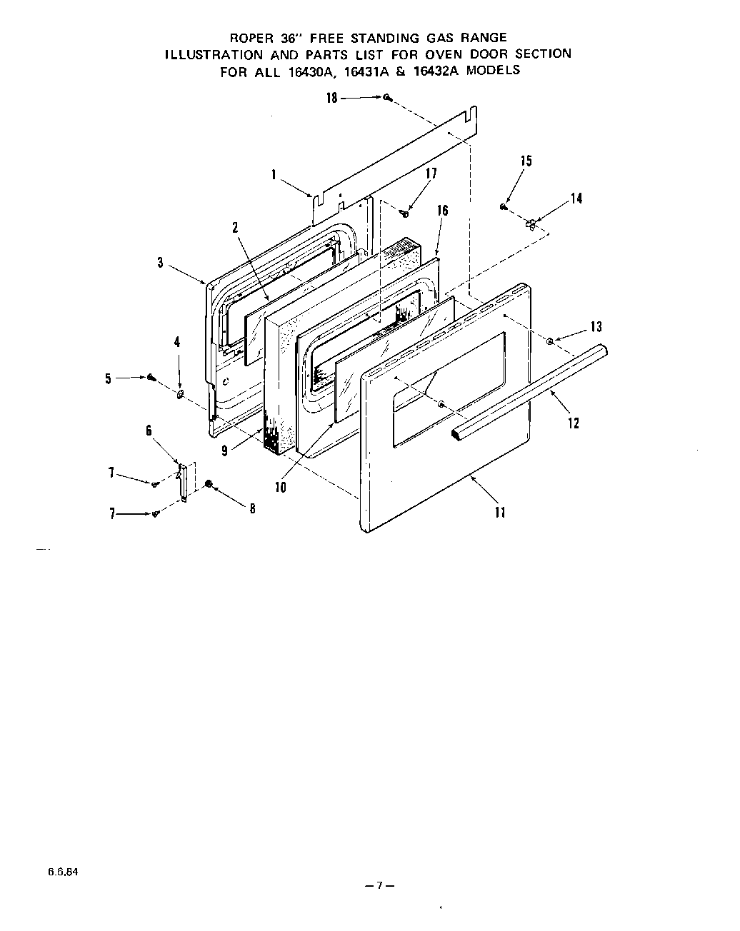
| 1 | Heat Deflector |
| 2 | Oven Door Glass-Inner |
| 3 | Lining-Oven Door |
| 4 | WPL 21067 |
| 5 | Screw 10-32 x 1/2`` |
| 6 | Hinge Arm Guide (Left) |
| 6 | Hinge Arm Guide (Right) |
| 7 | Shoulder Rivet |
| 8 | Keps Nut 10-32 |
| 9 | Insulation |
| 10 | Oven Door Glass-Outer |
| 11 | Front Panel-Oven Door (Almond 1633L0A) |
| 11 | Front Panel-Oven Door (White 1633W1A, W2A) |
| 11 | Front Panel-Oven Door (Coffee 1633C1A, C2A) |
| 11 | Front Panel-Oven Door (Golden Wheat 1633H1A, H2A) |
| 11 | Front Panel-Oven Door (Avocado 1633A1A, A2A) |
| 11 | Front Panel-Oven Door (Almond 1633L1A, L2A) |
| 11 | Front Panel-Oven Door (Golden Wheat 1633H0A) |
| 11 | Front Panel-Oven Door (Avocado 1633A0A) |
| 11 | Front Panel-Oven Door (Coffee 1633C0A) |
| 11 | Front Panel-Oven Door (White 1633W0A) |
| 12 | WPL 309872 |
| 13 | Spacer |
| 14 | Retainer-Door Glass (2 Req) |
| 15 | Screw 10-32x3/8`` |
| 16 | Retainer-Oven Door Insulation |
| 17 | Screw 10 - 32x3/8`` |
| 18 | Disconnect |
| 18 | Gas Valve Switches |
| 18 | Module |
| 18 | Backguard |
| 18 | Screw 10 - 32 x 1/2`` |