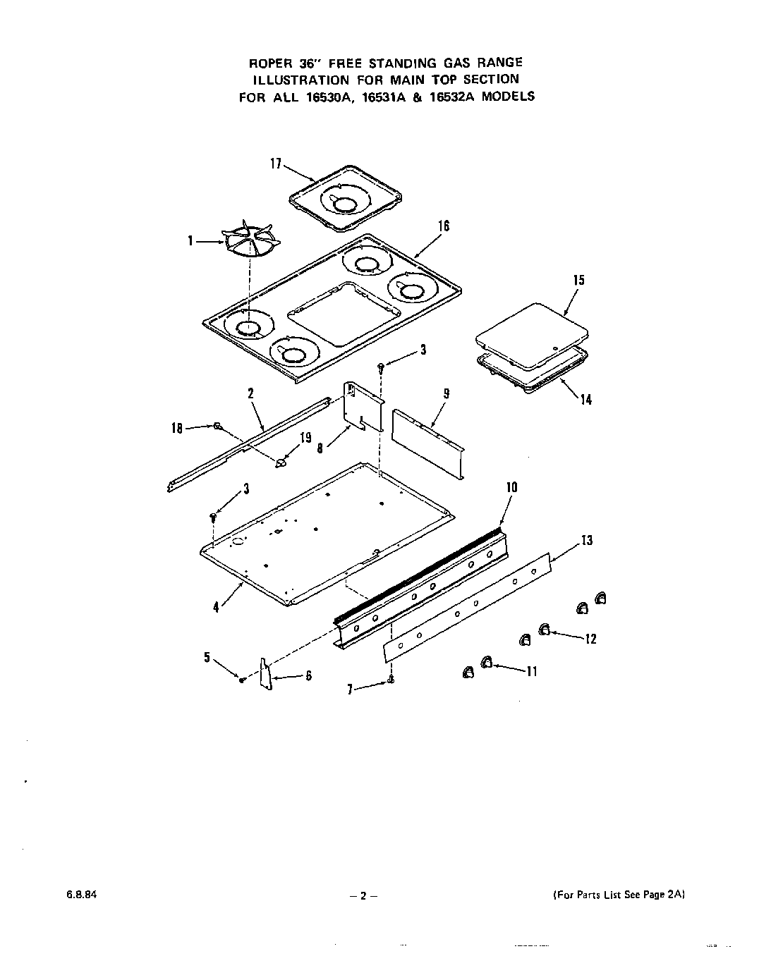
| 1 | Top Grate (4 Required) |
| 2 | 280251 Whirlpool Outer Tub OS3 |
| 2 | Support-Rear Main Top (16331A,2A Models) |
| 3 | WP112432 Whirlpool Nut Assembly |
| 4 | Burner Box Bottom |
| 5 | Screw 6-32x3/8`` |
| 6 | End Cap-Manifold Panel (Right) |
| 6 | End Cap-Manifold Panel (Left) |
| 7 | Screw 10-32x3/8`` |
| 8 | Extension-Burner Box Bottom (Left) |
| 8 | Extension-Burner Box Bottom (Right) |
| 9 | Baffle-Burner Box Bottom (Right) |
| 9 | Baffle-Burner Box Bottom (Left) |
| 10 | Manifold Panel |
| 11 | Knob-Gas Valve (5 Req) |
| 12 | Knob-Oven Thermostat |
| 13 | Trim-Manifold Panel |
| 14 | Griddle Plate |
| 15 | Griddle Cover (Coffee 1633C1A, C2A) |
| 15 | Griddle Cover (Avocado 1633A1A, A2A) |
| 15 | Griddle Cover (Golden Wheat 1633H1A, H2A) |
| 15 | Griddle Cover (Almond 1633L1A, L2A) |
| 15 | Griddle Cover (White 1633W1A, W2A) |
| 15 | Griddle Cover (Almond 1633L0A) |
| 15 | Griddle Cover (Avocado 1633A0A) |
| 15 | Griddle Cover (White 1633W0A) |
| 15 | Griddle Cover (Coffee 1633C0A) |
| 15 | Griddle Cover (Golden Wheat 1633H0A) |
| 16 | Main Top (Golden Wheat) |
| 16 | Main Top (White) |
| 16 | Main Top (Coffee) |
| 16 | Main Top (Avocado) |
| 16 | Main Top (Almond) |
| 17 | WPL 325417 |
| 17 | Aeration Pan-Griddle (Golden Whe |
| 17 | Aeration Pan-Griddle (Avocado) |
| 17 | Aeration Pan-Griddle (Coffee) |
| 17 | Aeration Pan-Griddle (White) |
| 18 | Screw 10-16x7/16`` |
| 19 | WPL 327872 |