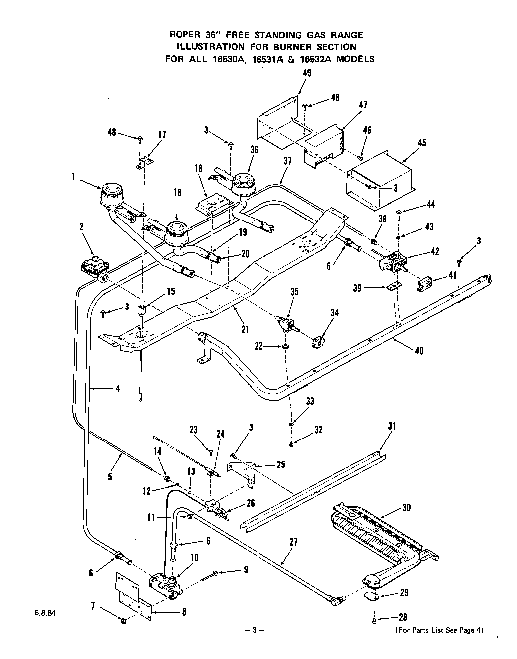
1653^2A 04 – BURNER