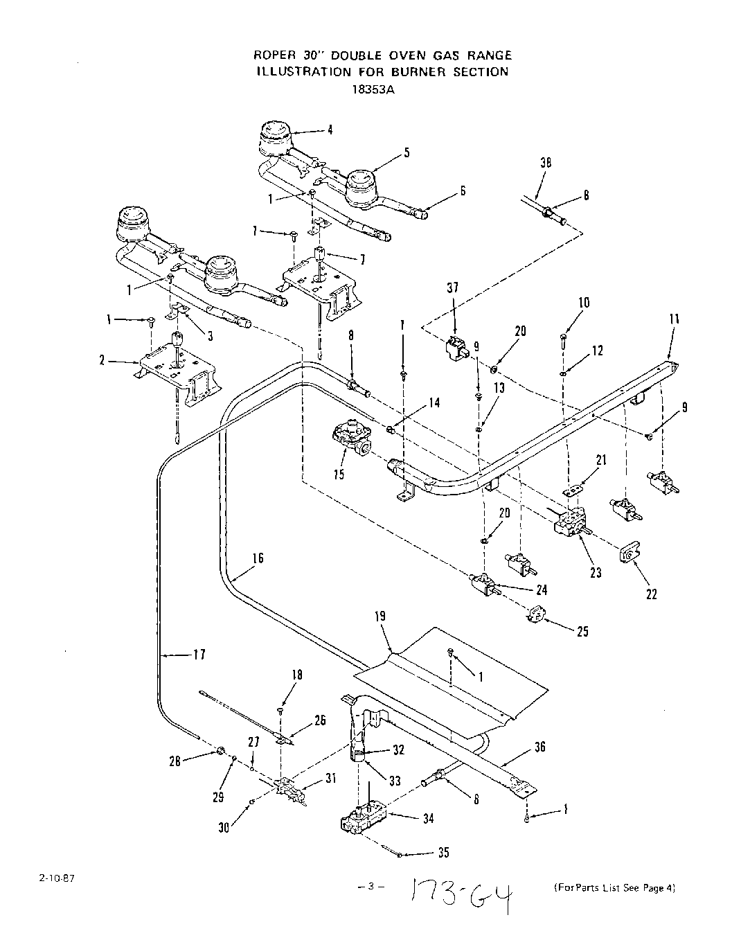
1835^3A 04 – BURNER SECTIONadmin2025-04-26T08:59:52+00:001835^3A 04 – BURNER SECTION ProductsPositionProduct1Screw 10-16x7/16``2Support-Top Burner (Lt. or Rt.)3panel, side l.h. (almond panel, side r.h.)4Rear Top Burner-Rt. or Lt. (Inc`s. Key 4)5Front Top Burner-Rt. or Lt. (Inc`s.Key 4)6Air Shutter7Electrode-Spark Igniter (Left)7Electrode-Spark Igniter7Panel, Side L.H. (Platinum Panel, Side R.H.)8Inverted Nut 3/8``9Mounting Screw (Inc`s 86)10Mounting Screw (2 Req. for 114)11Manifold Pipe12Gasket (For 83)13Silicone Rubber Gasket (For Key 26)14Loxit Nut 3/16``15Pressure Regulator16Tubing 3/8`` (Shut-Off to Control Valve)17Tubing 3/16`` -Oven Therm. To Oven Control Pilot18Screw 6-32 x 5/16``19Baffle - Oven Burner20Silicone Rubber Gasket21Silicone Rubber Gasket22WPL 31843223Oven Thermostat (Inc`s. 21)24Gas Valve (4 Req)25Switch-Gas Valve (4 Req)26Electrode-Oven Spark Igniter27Orifice Cup Only (For 94)28Compression Nut 3/16``29Compression Ball Sleeve 3/16``30Screw 10-24x1/4``31Pilot Only (Inc`s 90)32Adjustment Screw -Air Shutter33Air Shutter34Control Valve (Inc`s. 27 & 31)35Screw 10-32 x 2``36Oven Burner (Inc`s. 19, 32 & 33)37Shut Off Valve38Tubing 3/8`` (Shut Off to Union)