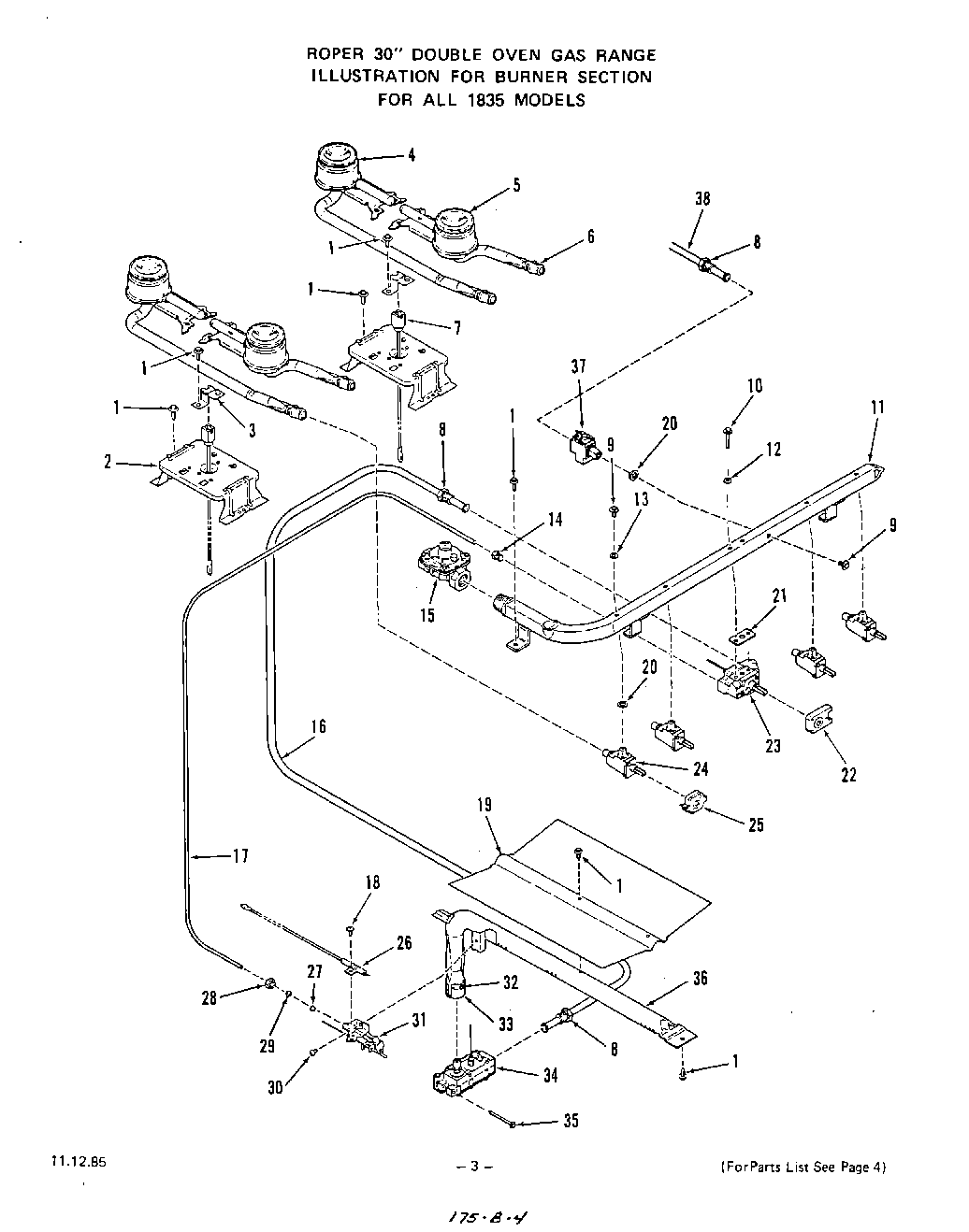
1835W0A 04 – BURNER