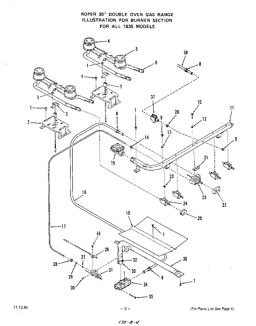
1835W1A 04 – BURNER