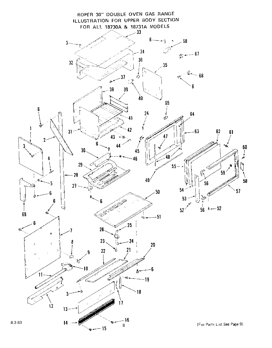
1873^0A 07 – OVEN CONTROL PANELadmin2025-04-26T09:00:19+00:001873^0A 07 – OVEN CONTROL PANEL ProductsPositionProduct1Almond-Left1Almond - Right1Golden Wheat-Right1Golden Wheat-Left1White - Right1White - Left1Upper Oven Body Side (Avocado-Left)1Upper Oven Body Side (Coffee-Left)1Upper Oven Body Side (Coffee-Right)1Upper Oven Body Side (Avocado-Right)2WPL 3247913Screw 6-32x3/8``4Pop Rivet5Retainer6WP112432 Whirlpool Nut Assembly7Wire Cover8Shield-Wire9Bracket-Fluorescent Lamp (Right)10Holder-Fluorescent Lamp (Right)10Holder-Fluorescent Lamp (Left)11Fluorescent Lamp (20 W - 24``)12Wire Cover-Fluorescent Lamp13Fluorescent Lamp Glass14WPL 32439315Screw 6-32 x 3/8``16Screw 6-32 x 1/2``17Spring - Lamp Glass End Trim (Lt or Rt)18End Trim - Lamp Glass (Lt or Rt)19Screw 6-32 x 1/2``20WPL 32382220White20WPL 32382120Golden Wheat20Almond21WPL 32166121WPL 32166421WPL 32166321WPL 32166221WPL 32166022Upper Retainer-Lamp G22Upper Retainer-Lamp Glass (Coffee)22Golden Wheat22Almond22White23Screw 10-32 x 5/8``24Hinge Pin25Washer26lower hinge-oven door27Bracket-Oven Orifice28WPL 32405829baffle-oven burner30Access Plate31Oven Side-Left32Oven Top33Almond33Golden Wheat33WPL 32388933WPL 32389033White34Insulation-Sides, Top & Back (1 Piece)35oven36Holder-Oven Lamp Bulb37Thermostat Bulb Clip (2 Required)38WPL 30554139WPL 30562840Oven Lamp Bulb41WPL 30562942WPL 28865543WPL 32548544WPL 9913945WPL 28178146WPL 9876147WPL 32116248WPL 29291249WPL 29291350WPL 32386951WPL 32415952WPL 10255953WPL 28184654WPL 30801055WPL 28199256WPL 29290757WPL 28184558WPL 29305159Keps Nut 8-3260WPL 23513461WPL 29926362WPL 29304963WPL 32387364WPL 9741164WPL 7856565WPL 9700366Ballast67WPL 10918068WPL 29374769Pedestal-Upper Oven (Avocado-Left)69WPL 32528769WPL 32529269Pedestal-Upper Oven (Avocado-Right)69WPL 32529369Pedestal-Upper Oven (Coffee-Right)69WPL 32528669WPL 32528969Pedestal-Upper Oven (Coffee-Left)69WPL 325283