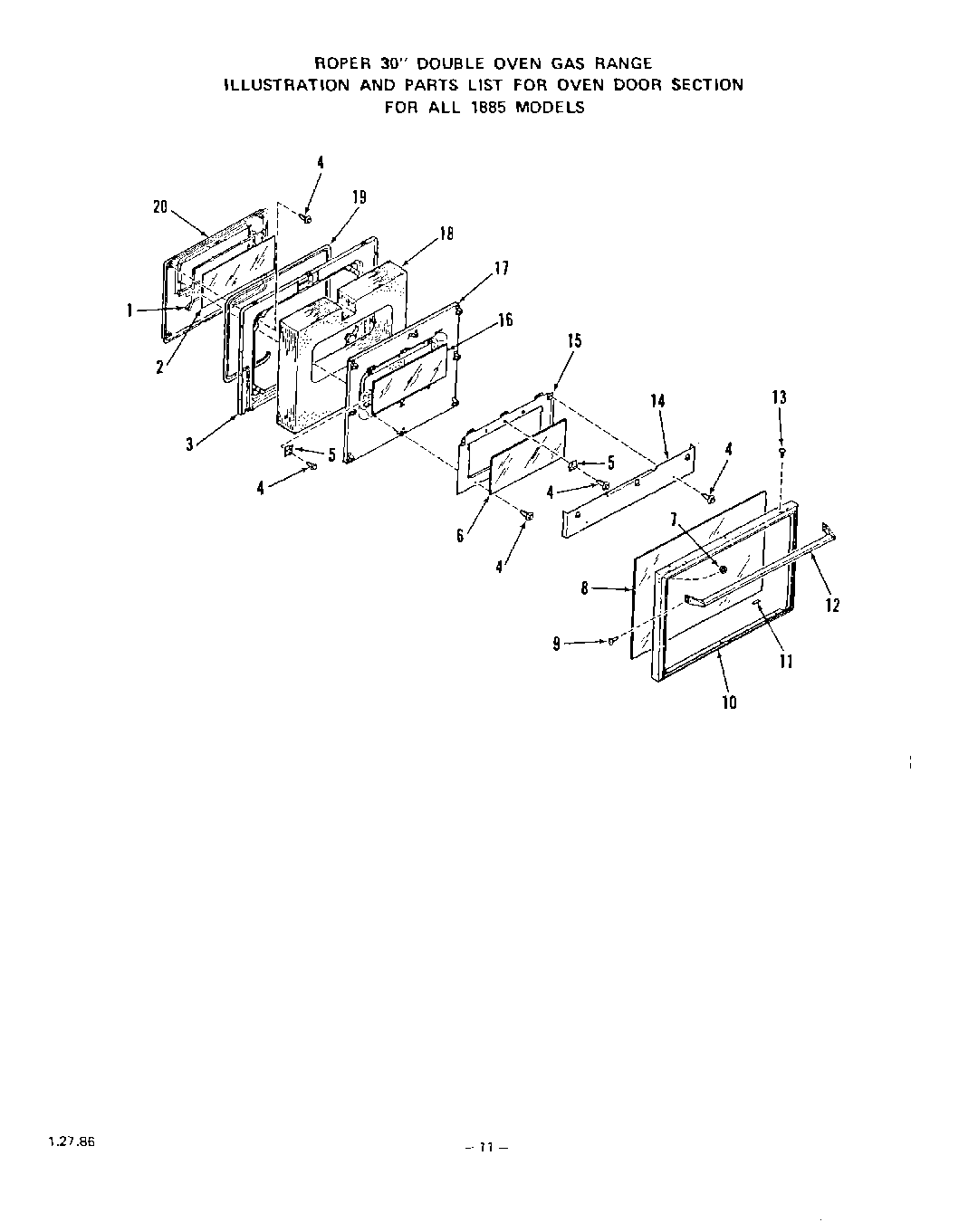
1885^0A 09 – OVEN DOOR