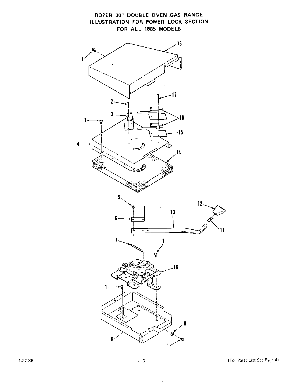
1885^1A 04 – POWER LOCK