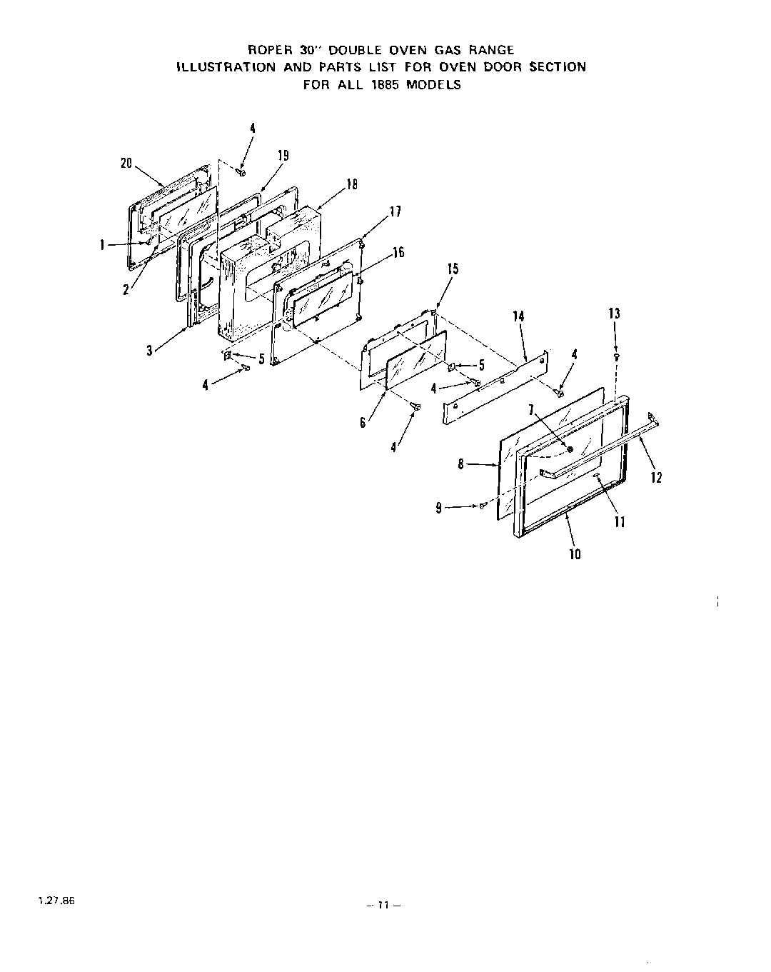
1885W1A 09 – OVEN DOOR