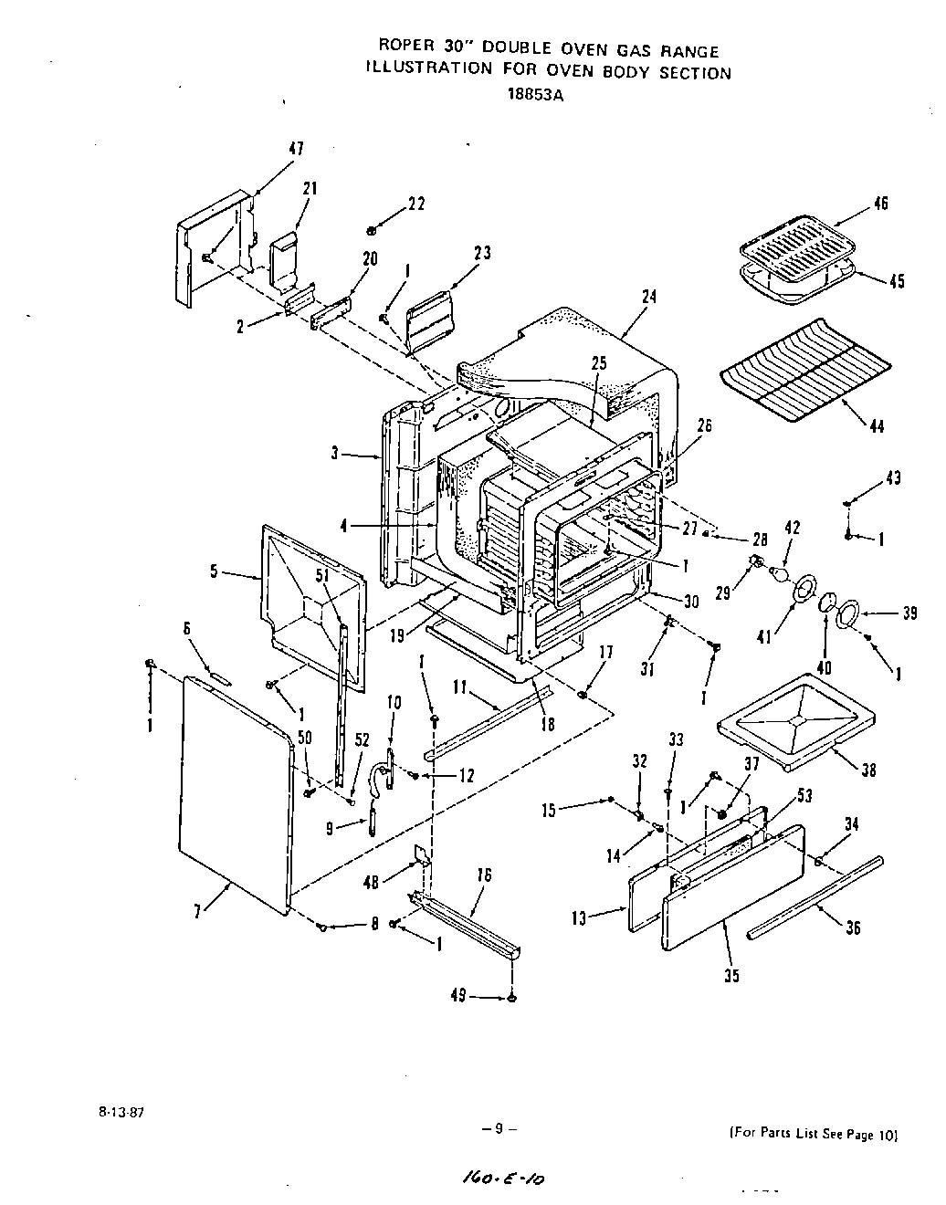
| 1 | Screw 10-16x7/16`` |
| 2 | Wire Shield |
| 3 | Main Back |
| 4 | Insulation-Oven Back & Bottom (1 Piece) |
| 5 | Retainer-Insulation (Lt. or Rt.) |
| 6 | Spacer-Main Top (2 Req) |
| 7 | Toast |
| 7 | Body Side (Lt. or Rt.) |
| 7 | White |
| 7 | Almond |
| 7 | Golden Wheat |
| 7 | Platinum |
| 8 | Screw 8ABx5/8`` |
| 9 | Spring-Oven Door (Lt. or Rt.) |
| 10 | Hinge-Oven Door |
| 10 | Right |
| 10 | Left |
| 11 | Strap-Main Back & Base |
| 12 | Screw |
| 13 | Lining-Storage Drawer |
| 14 | Strike-Main Top (2 Required) |
| 15 | Catch-Strike |
| 16 | Base w/Leg Levelers (Lt. or Rt.) |
| 17 | BURNER RECEPTACLE KIT |
| 18 | Storage Compartment |
| 19 | Lower Insulation Retainer |
| 20 | Frame, Front |
| 21 | Wire Shield |
| 22 | Bushing |
| 23 | Flue Deflector |
| 24 | Insulation-Oven Top & Sides (1 Piece) |
| 25 | Flue Box |
| 26 | Oven Body |
| 27 | Cover |
| 28 | Clip-Thermostat Bulb (2 Req) |
| 29 | Holder-Oven Light Bulb |
| 30 | Front Frame |
| 31 | Hinge |
| 32 | Bracket-Catch |
| 33 | Screw-10-32x1/2`` |
| 34 | spacer-handle |
| 35 | White |
| 35 | Almond |
| 35 | Front Panel-Storage Door |
| 35 | Toast |
| 35 | Platinum |
| 35 | Golden Wheat |
| 36 | Handle-Broiler Door |
| 37 | Keps Nut 8-32 |
| 38 | Oven Bottom |
| 39 | Retainer-Oven Light Lens |
| 40 | Lens-Oven Light |
| 41 | Gasket-Lens |
| 42 | Oven Lamp Bulb |
| 43 | Cover Plate-Thermostat Bulb |
| 44 | Oven Rack (2 Req) |
| 45 | WPL 331592 |
| 46 | WPL 326297 |
| 47 | Shield-Flue Deflector |
| 48 | bracket-support & base |
| 48 | Left |
| 48 | Right |
| 49 | Leg Leveler (4 Req) |
| 50 | WP112432 Whirlpool Nut Assembly |
| 51 | s |
| 52 | WPL 281160 |
| 53 | WPL 303097 |